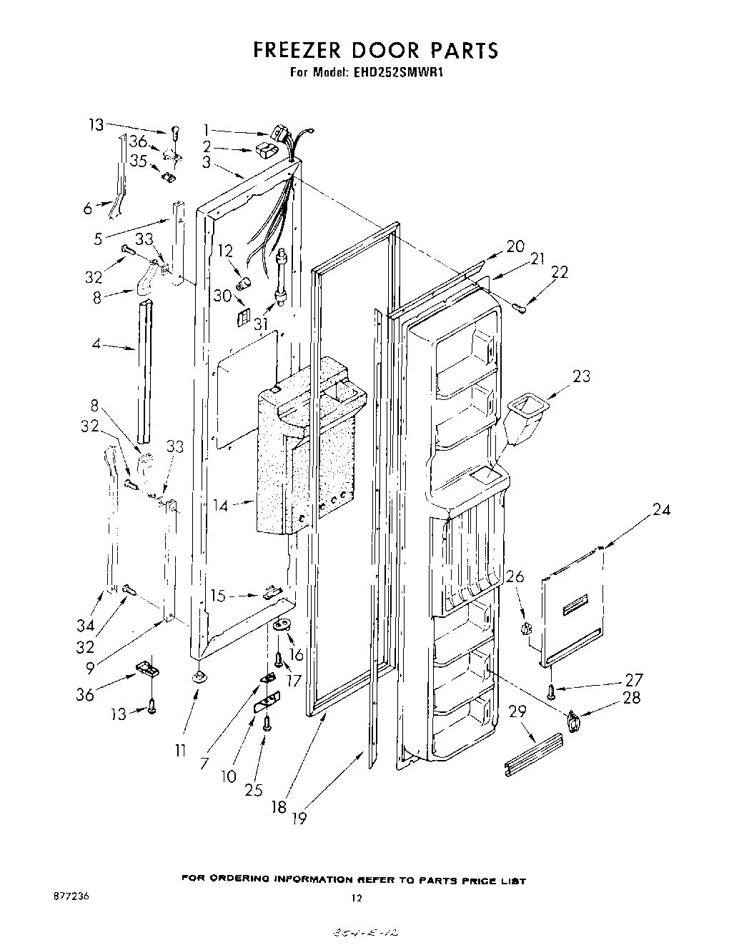
EHD252SMWR1 07 – FREEZER DOOR