EHD252SMWR2 10 – REFRIGERATOR INTERIORadmin2025-04-26T09:49:55+00:00EHD252SMWR2 10 – REFRIGERATOR INTERIOR
Products
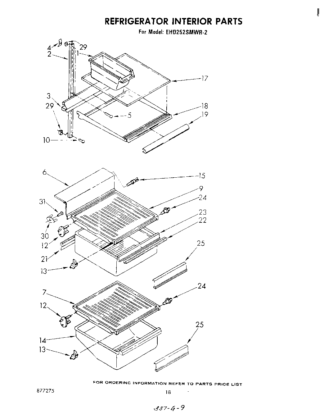
| Position | Product |
|---|
| 1 | WP982704 Whirlpool Refrigerator Container |
| 2 | Shelfladder (2) |
| 3 | Reflector, Cantilever |
| 4 | Screw, Anchor (3) |
| 5 | Screw, 8 x 1-1/4 (3) |
| 6 | WPL 984233 |
| 7 | Slide & Cover Meat Pan (Frost Ivory) |
| 9 | Slide & Cover, Crisper Pan (Light Smoke) |
| 10 | Screw, 8-32 x 1-1/4 |
| 10 | Screw (Repair) |
| 12 | Shelf Stud |
| 13 | Shelf, Stud |
| 14 | Pan, Meat |
| 15 | Stud |
| 17 | Glass, Cantilever Shelf |
| 18 | Shelf, Cantilever |
| 19 | Shelf Trim, Cantilever |
| 21 | Crisper Basket, Rear |
| 22 | Crisper Gasket Front |
| 23 | Pan, Crisper |
| 24 | Shelf, Stud |
| 25 | Overlay, Front Cover |
| 29 | 520965 Whirlpool Refrigerator Support |
| 30 | Stud Water Reservoir |
| 31 | WP488729 Whirlpool Refrigerator Door Screw |