EHD253SMWR0 09 – FREEZER INTERIORadmin2025-04-26T09:49:10+00:00EHD253SMWR0 09 – FREEZER INTERIOR
Products
| Position | Product |
|---|
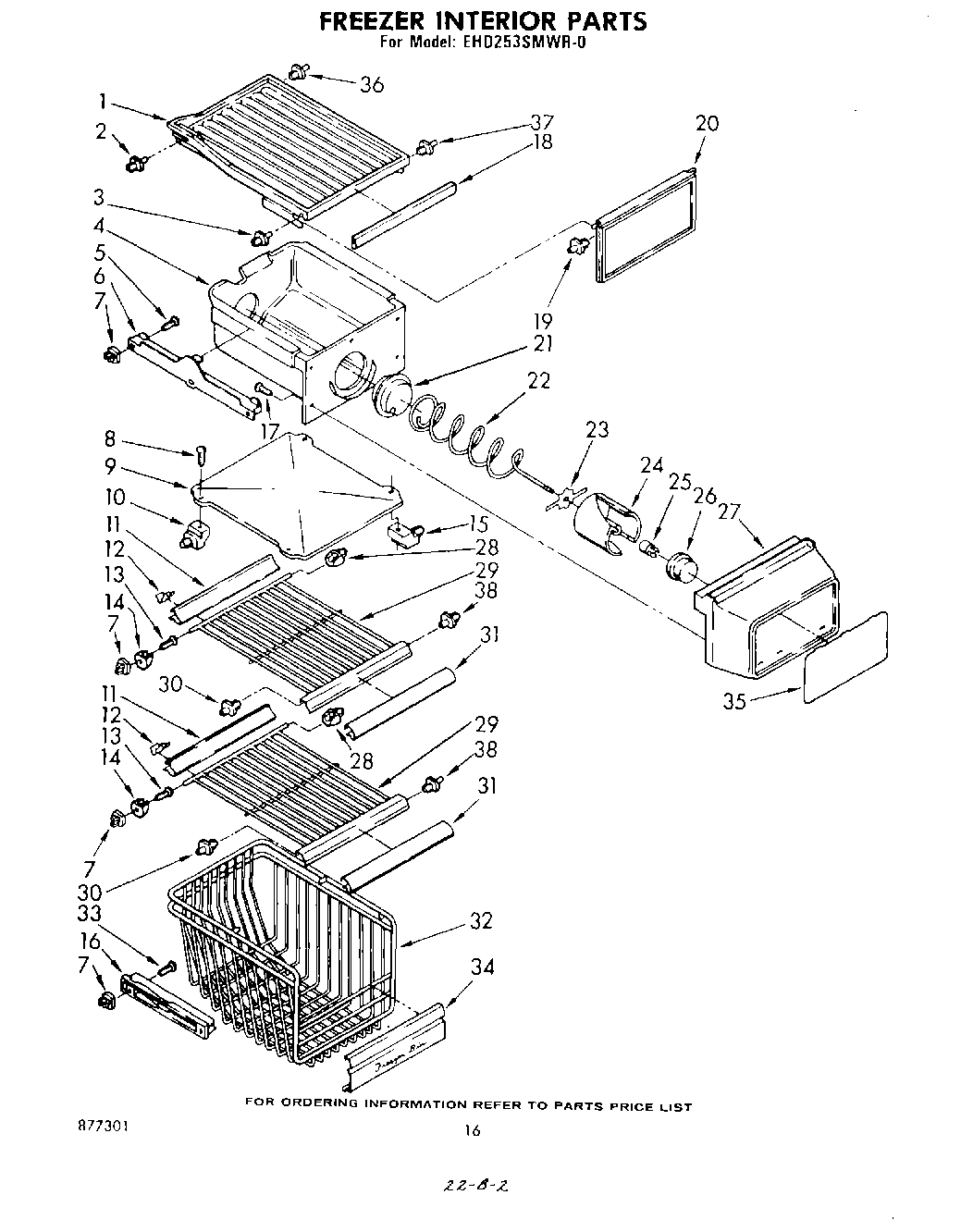
| 1 | Shelf, Solid |
| 2 | Stud, Shelf (2) |
| 3 | Shelf, Stud |
| 4 | Ice Container |
| 5 | Screw, 8 x 1 |
| 6 | Slide, Freezer Bin |
| 7 | Grommet |
| 9 | Baffle, Ice Container |
| 10 | Retainer, Stud (4) |
| 11 | Reflector, Shelf |
| 12 | Clip Reflector |
| 13 | WP488729 Whirlpool Refrigerator Door Screw |
| 14 | Shelf Stud, Saddle L.S. |
| 15 | Retainer, Stud |
| 16 | Track, Shelf (R.S.) |
| 16 | Track, Shelf (L.S.) |
| 17 | WP488787 Whirlpool Refrigerator Screw |
| 18 | Trim, Shelf |
| 19 | Shelf, Stud |
| 20 | Frontice, Compartment |
| 21 | W10749708 Whirlpool Refrigerator Coupling |
| 22 | Conveyor, Ice Container |
| 23 | Drum, Drive Bar |
| 24 | Drum, Ice Dispenser |
| 25 | Collar, Conveyor |
| 26 | Bearing, Conveyor |
| 27 | Front Cover, Ice Dispenser |
| 28 | Shelf, Saddle (R.S.) |
| 29 | Wire Shelf |
| 30 | Shelf, Stud (2) |
| 31 | Trim Shelf, Front |
| 32 | Basket, Freezer |
| 33 | W11693756 Whirlpool Screw Assembly |
| 34 | Trim, Freezer Basket |
| 35 | Overlay, Front Cover |
| 36 | Stud, Shelf |
| 37 | Stud, Shelf |
| 38 | Shelf, Stud |