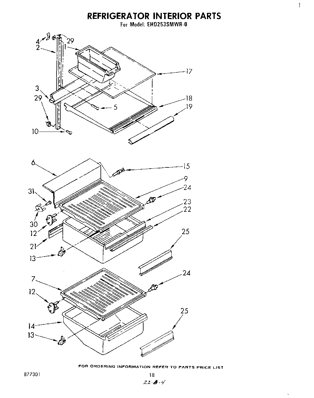
EHD253SMWR0 10 – REFRIGERATOR INTERIOR