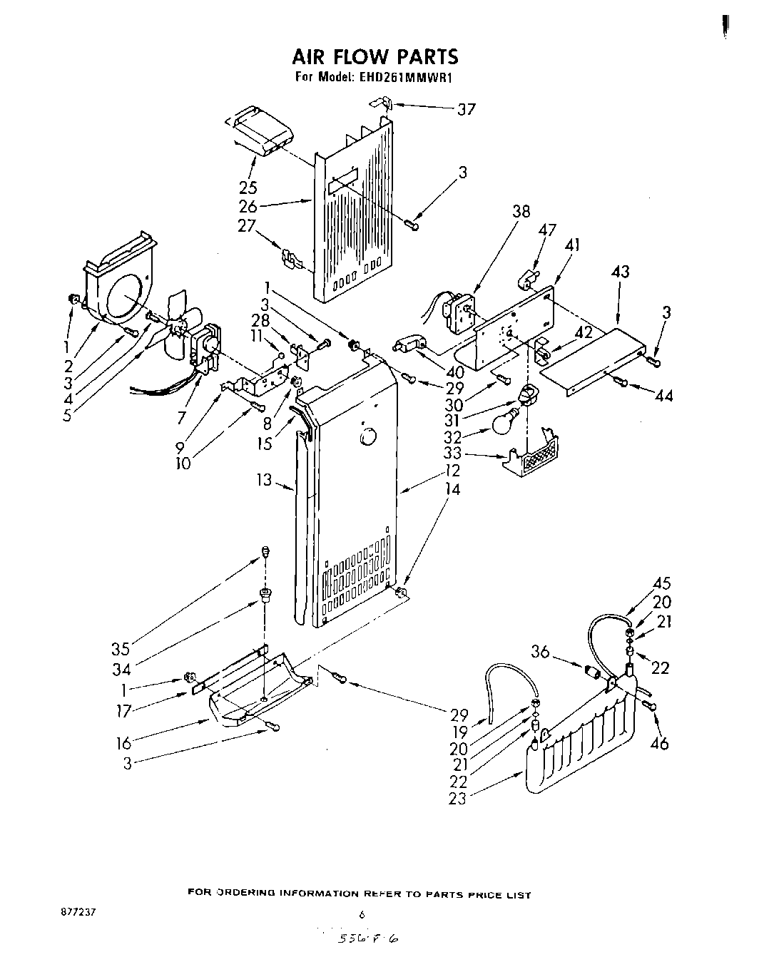
EHD261MMWR1 04 – AIR FLOW