| NI | 242010901 Frigidaire Refrigerator Roller Assembly |
| NI | WCI 242146210 |
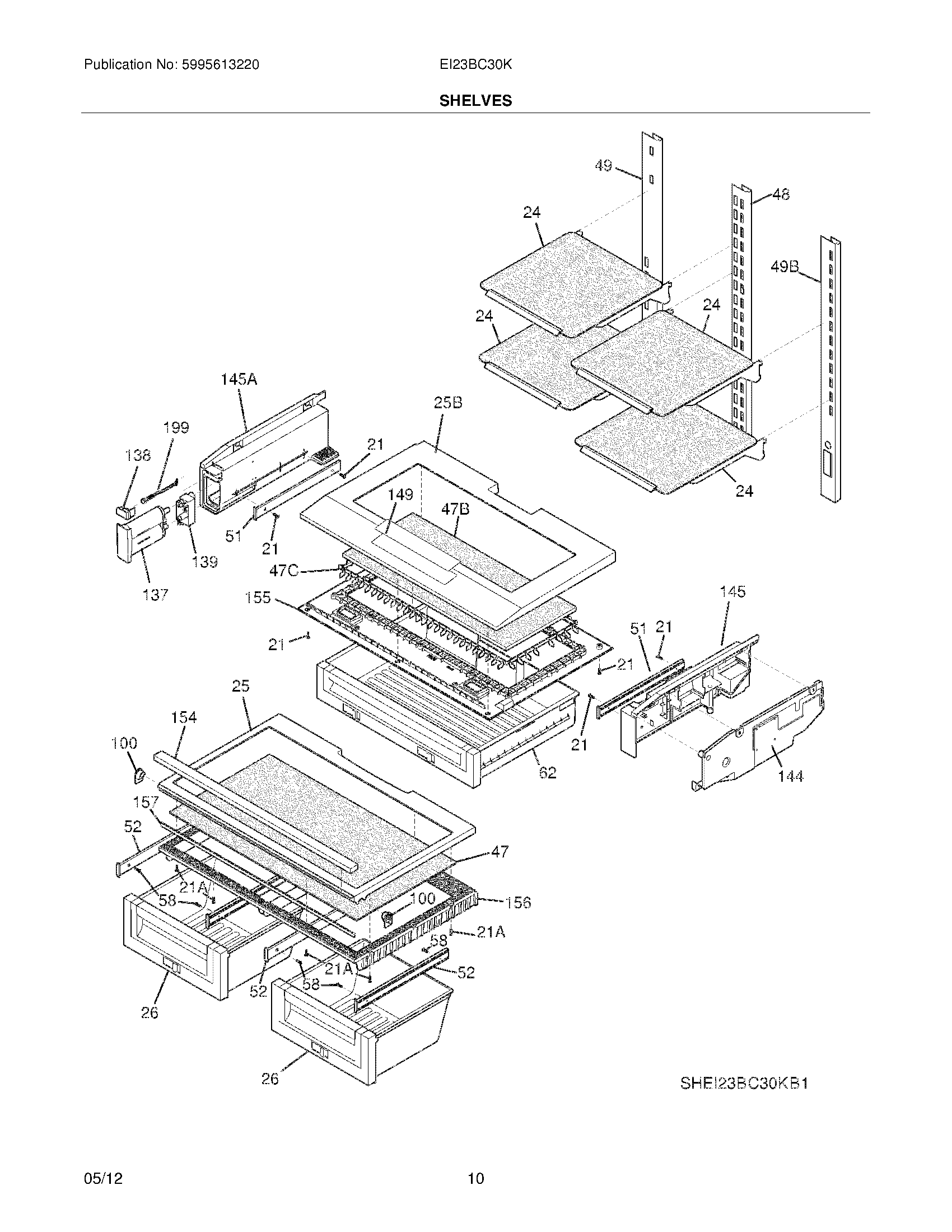
| 21 | 241953902 Frigidaire Refrigerator Screw |
| 21A | 5304453707 Frigidaire Oven Screw |
| 24 | SHELF, SLIDING 1/2 WID, CANTILEVER, "SPILL-SAFE" |
| 25B | 241803303 Frigidaire Refrigerator Deli Cover Frame |
| 25 | 241802205 Frigidaire Refrigerator Crisper Cover Frame |
| 26 | 241772808 Frigidaire Refrigerator Crisper Pan |
| 47 | 241768802 Frigidaire Refrigerator Crisper Frame Glass |
| 47C | SPACER, NON-PTD |
| 47B | GLASS-DELI DRAWER, 11.4 X 26.5 |
| 48 | 242122101 Frigidaire Refrigerator CHANNEL-Shelf MTG |
| 49B | 242122302 Frigidaire Refrigerator Channel-Shelf Mtg |
| 49 | 242122204 Frigidaire Channel-Shelf Mounting |
| 51 | 241816101 Frigidaire Refrigerator Deli Slide |
| 52 | 241769002 Frigidaire Refrigerator Slide-Crisper Cover |
| 58 | 241941202 Frigidaire Refrigerator Screw-#8-18 X 3/8 F |
| 62 | 241827206 Frigidaire Refrigerator Deli Pan |
| 100 | 241768601 Frigidaire Refrigerator Cover-Support Crisper |
| 137 | EWF01 Frigidaire Refrigerator PureAdvantage Water Filter |
| 137 | 240527001 Frigidaire Refrigerator O-Ring N |
| 138 | 241885901 Frigidaire Refrigerator Filter Release Button |
| 139 | 240396002 Frigidaire Refrigerator Primary Base Water Filter |
| 139 | WCI 241858401 |
| 144 | 241803901 Frigidaire Refrigerator Cover-Deli Air Cont |
| 145 | HOUSING-DELI AIR CONTROL |
| 145 | 242058709 Frigidaire Refrigerator Support |
| 149 | INSERT-PAN COVER, PLASTIC |
| 154 | 241879902 Frigidaire Refrigerator Crisper Cover Trim |
| 155 | 241803403 Frigidaire Refrigerator Frame-Deli Cover |
| 156 | 241872006 Frigidaire Refrigerator Frame-Crisper Cover |
| 157 | 241872201 Frigidaire Refrigerator Crisper Cover Beam |
| 199 | WCI 240397501 |
| 199 | 240398401 Frigidaire Refrigerator Filter Release Spring |