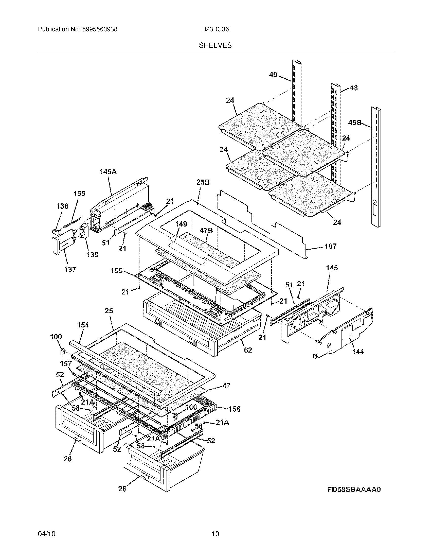
EI23BC36IS1 09 – SHELVES