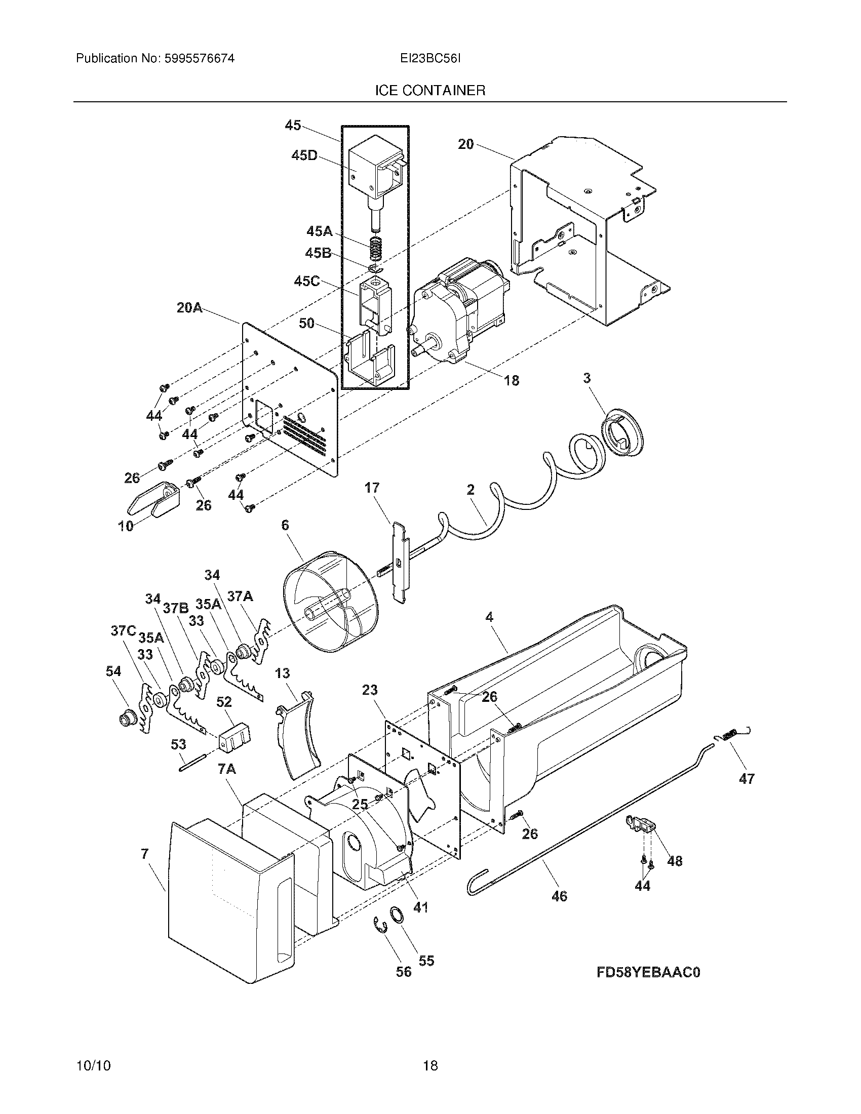
EI23BC56IB6 15 – ICE CONTAINERadmin2025-04-26T08:51:08+00:00EI23BC56IB6 15 – ICE CONTAINER ProductsPositionProductNIWCI 242030601NIWCI 241843301NIWCI 241869705NIWCI 242007101NIWCI 2418697082WCI 2419523013CAM-DRIVE4WCI 2418168026241829802 Frigidaire Drum Ice Dispenser7WCI 2418297017AWCI 24184420110241829001 Frigidaire Refrigerator Bar Drive13WCI 24182990117DRIVE BLADE18241816602 Frigidaire Refrigerator Motor-AUGER20WCI 24182890120AWCI 24184310123241829501 Frigidaire Refrigerator Plate-Front25240555002 Frigidaire Refrigerator Screw #8-32 X 3/826241690602 Frigidaire Refrigerator Screw33241684802 Frigidaire Refrigerator Spacer34241689802 Frigidaire Refrigerator Spacer35AFIXED BLADE, ROUND37BBLADE, CRUSHER #237CBLADE, CRUSHER #337ABLADE, CRUSHER #141WCI 24183000144218359202 Frigidaire Refrigerator Screw45241675704 Frigidaire Refrigerator Solenoid Assembly45A241675902 Frigidaire Refrigerator Solenoid Spring45B241676001 Frigidaire Refrigerator E-Ring Solenoid45C241676101 Frigidaire Refrigerator Solenoid-Actuator45D241675803 Frigidaire Refrigerator Freezer Ice Dispenser Solenoid46WCI 24181790247241839001 Frigidaire Refrigerator Spring-Control Rod48241830101 Frigidaire Refrigerator Bracket-Control50241675601 Frigidaire Refrigerator Solenoid Guide52SPACER-FIXED BLADES53241869601 Frigidaire Refrigerator Pin54241829601 Frigidaire Refrigerator Nut-Auger55241690306 Frigidaire Refrigerator Washer56241690201 Frigidaire Refrigerator E-Ring