| NI | WCI 241809203 |
| NI | WCI 241935598 |
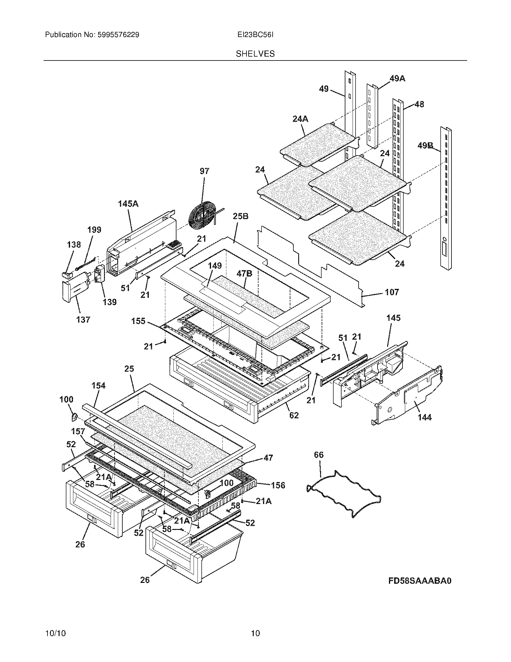
| 21 | 241953902 Frigidaire Refrigerator Screw |
| 21A | 5304453707 Frigidaire Oven Screw |
| 24A | WCI 241839904 |
| 24A | WCI 241809204 |
| 24 | WCI 241839902 |
| 25B | 241803303 Frigidaire Refrigerator Deli Cover Frame |
| 25 | 241802205 Frigidaire Refrigerator Crisper Cover Frame |
| 26 | 241772808 Frigidaire Refrigerator Crisper Pan |
| 47B | 241967401 Frigidaire Refrigerator Glass |
| 47 | 241768802 Frigidaire Refrigerator Crisper Frame Glass |
| 47B | 5304469950 Frigidaire Refrigerator Sealant |
| 48 | WCI 241774201 |
| 49A | WCI 241865701 |
| 49B | WCI 241774301 |
| 49 | WCI 241773801 |
| 51 | 241816101 Frigidaire Refrigerator Deli Slide |
| 52 | 241769002 Frigidaire Refrigerator Slide-Crisper Cover |
| 58 | 241941202 Frigidaire Refrigerator Screw-#8-18 X 3/8 F |
| 62 | WCI 241827207 |
| 66 | 241748901 Frigidaire Refrigerator Wine Rack |
| 97 | WCI 241821202 |
| 100 | 241768601 Frigidaire Refrigerator Cover-Support Crisper |
| 107 | WCI 241925901 |
| 137 | 240527001 Frigidaire Refrigerator O-Ring N |
| 137 | EWF01 Frigidaire Refrigerator PureAdvantage Water Filter |
| 138 | 241885901 Frigidaire Refrigerator Filter Release Button |
| 139 | WCI 241858401 |
| 139 | 240396002 Frigidaire Refrigerator Primary Base Water Filter |
| 144 | 241803901 Frigidaire Refrigerator Cover-Deli Air Cont |
| 145 | 242058709 Frigidaire Refrigerator Support |
| 145 | WCI 241803801 |
| 149 | INSERT-PAN COVER, PLASTIC |
| 154 | 241879902 Frigidaire Refrigerator Crisper Cover Trim |
| 155 | 241803403 Frigidaire Refrigerator Frame-Deli Cover |
| 156 | 241872006 Frigidaire Refrigerator Frame-Crisper Cover |
| 157 | 241872201 Frigidaire Refrigerator Crisper Cover Beam |
| 199 | WCI 240397501 |
| 199 | 240398401 Frigidaire Refrigerator Filter Release Spring |