EI23BC56IW2 09 – SHELVES

EI23BC56IW2 09 – SHELVES

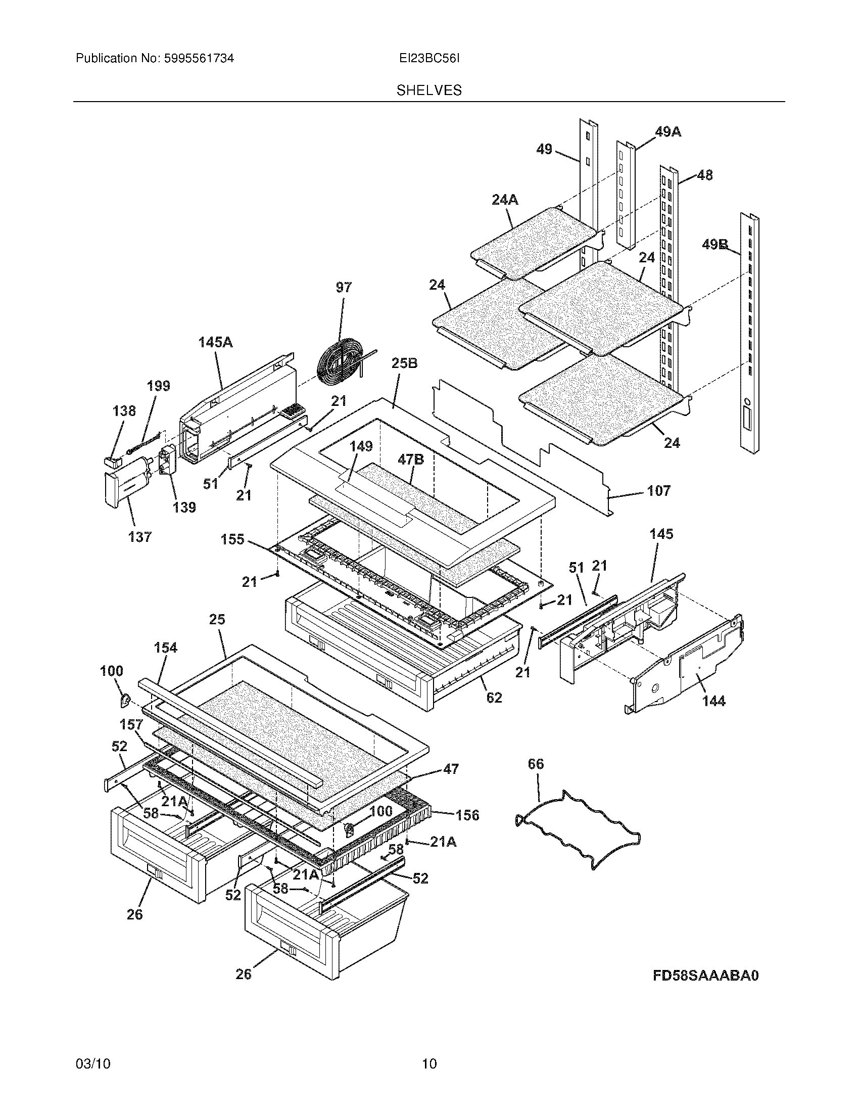
Products

PositionProduct
NIWCI 241809203
NIWCI 241935598
21241953902 Frigidaire Refrigerator Screw
21A5304453707 Frigidaire Oven Screw
24AWCI 241839904
24AWCI 241809204
24WCI 241839902
25B241803303 Frigidaire Refrigerator Deli Cover Frame
25241802205 Frigidaire Refrigerator Crisper Cover Frame
26241772808 Frigidaire Refrigerator Crisper Pan
47B241967401 Frigidaire Refrigerator Glass
47241768802 Frigidaire Refrigerator Crisper Frame Glass
47B5304469950 Frigidaire Refrigerator Sealant
48WCI 241774201
49AWCI 241865701
49BWCI 241774301
49WCI 241773801
51241816101 Frigidaire Refrigerator Deli Slide
52241769002 Frigidaire Refrigerator Slide-Crisper Cover
58241941202 Frigidaire Refrigerator Screw-#8-18 X 3/8 F
62WCI 241827203
66241748901 Frigidaire Refrigerator Wine Rack
97WCI 241821202
100241768601 Frigidaire Refrigerator Cover-Support Crisper
107WCI 241925901
137240527001 Frigidaire Refrigerator O-Ring N
137EWF01 Frigidaire Refrigerator PureAdvantage Water Filter
138241885901 Frigidaire Refrigerator Filter Release Button
139WCI 241858401
139240396002 Frigidaire Refrigerator Primary Base Water Filter
144241803901 Frigidaire Refrigerator Cover-Deli Air Cont
145242058709 Frigidaire Refrigerator Support
145WCI 241803801
149INSERT-PAN COVER, PLASTIC
154241879902 Frigidaire Refrigerator Crisper Cover Trim
155241803403 Frigidaire Refrigerator Frame-Deli Cover
156241872006 Frigidaire Refrigerator Frame-Crisper Cover
157241872201 Frigidaire Refrigerator Crisper Cover Beam
199WCI 240397501
199240398401 Frigidaire Refrigerator Filter Release Spring