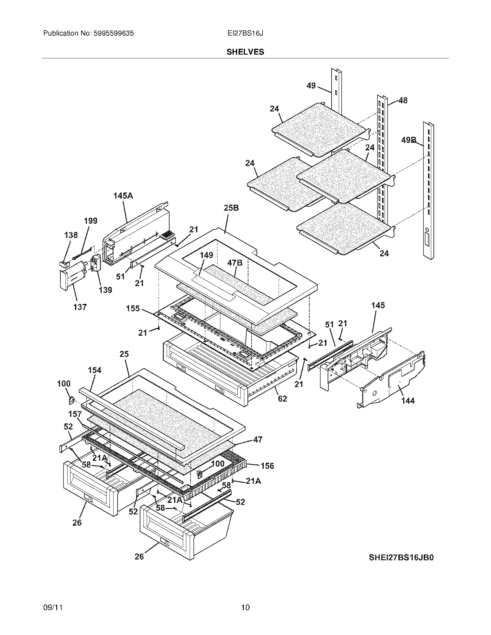
| NI | 242010901 Frigidaire Refrigerator Roller Assembly |
| NI | WCI 242110222 |
| 21 | 241953902 Frigidaire Refrigerator Screw |
| 21A | 5304453707 Frigidaire Oven Screw |
| 24 | 242068701 Frigidaire Refrigerator Shelf |
| 25 | WCI 241802206 |
| 25B | WCI 241803304 |
| 26 | WCI 241772803 |
| 47 | WCI 241768801 |
| 47B | 241967401 Frigidaire Refrigerator Glass |
| 48 | 242122101 Frigidaire Refrigerator CHANNEL-Shelf MTG |
| 49 | 242122204 Frigidaire Channel-Shelf Mounting |
| 49B | 242122302 Frigidaire Refrigerator Channel-Shelf Mtg |
| 51 | WCI 241816102 |
| 52 | 241769001 Frigidaire Refrigerator Crisper Cover Slide |
| 58 | 241941202 Frigidaire Refrigerator Screw-#8-18 X 3/8 F |
| 62 | WCI 241827205 |
| 100 | 241768601 Frigidaire Refrigerator Cover-Support Crisper |
| 137 | 240527001 Frigidaire Refrigerator O-Ring N |
| 137 | EWF01 Frigidaire Refrigerator PureAdvantage Water Filter |
| 138 | 241885901 Frigidaire Refrigerator Filter Release Button |
| 139 | 240396002 Frigidaire Refrigerator Primary Base Water Filter |
| 139 | WCI 241858401 |
| 144 | 241803902 Frigidaire Cover |
| 145 | WCI 241803802 |
| 145 | WCI 242058706 |
| 149 | INSERT-PAN COVER, PLASTIC |
| 154 | 242015001 Frigidaire Refrigerator Screw |
| 154 | 241879902 Frigidaire Refrigerator Crisper Cover Trim |
| 155 | WCI 241803404 |
| 156 | WCI 241872003 |
| 157 | 241872201 Frigidaire Refrigerator Crisper Cover Beam |
| 199 | 240398401 Frigidaire Refrigerator Filter Release Spring |
| 199 | WCI 240397501 |