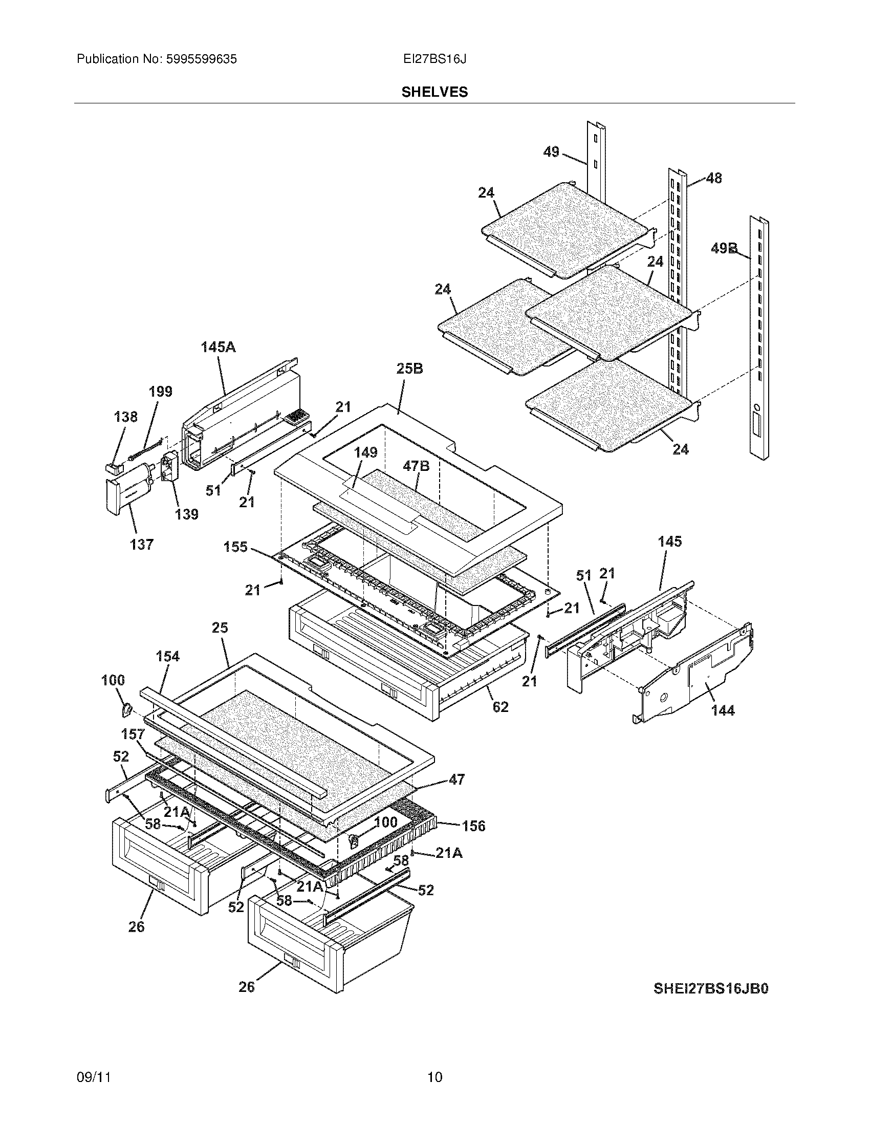
EI27BS16JW3 09 – SHELVES