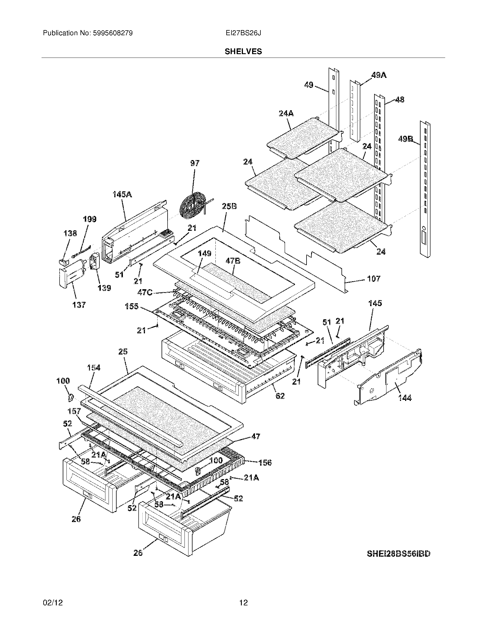
EI27BS26JB7 09 – SHELVES