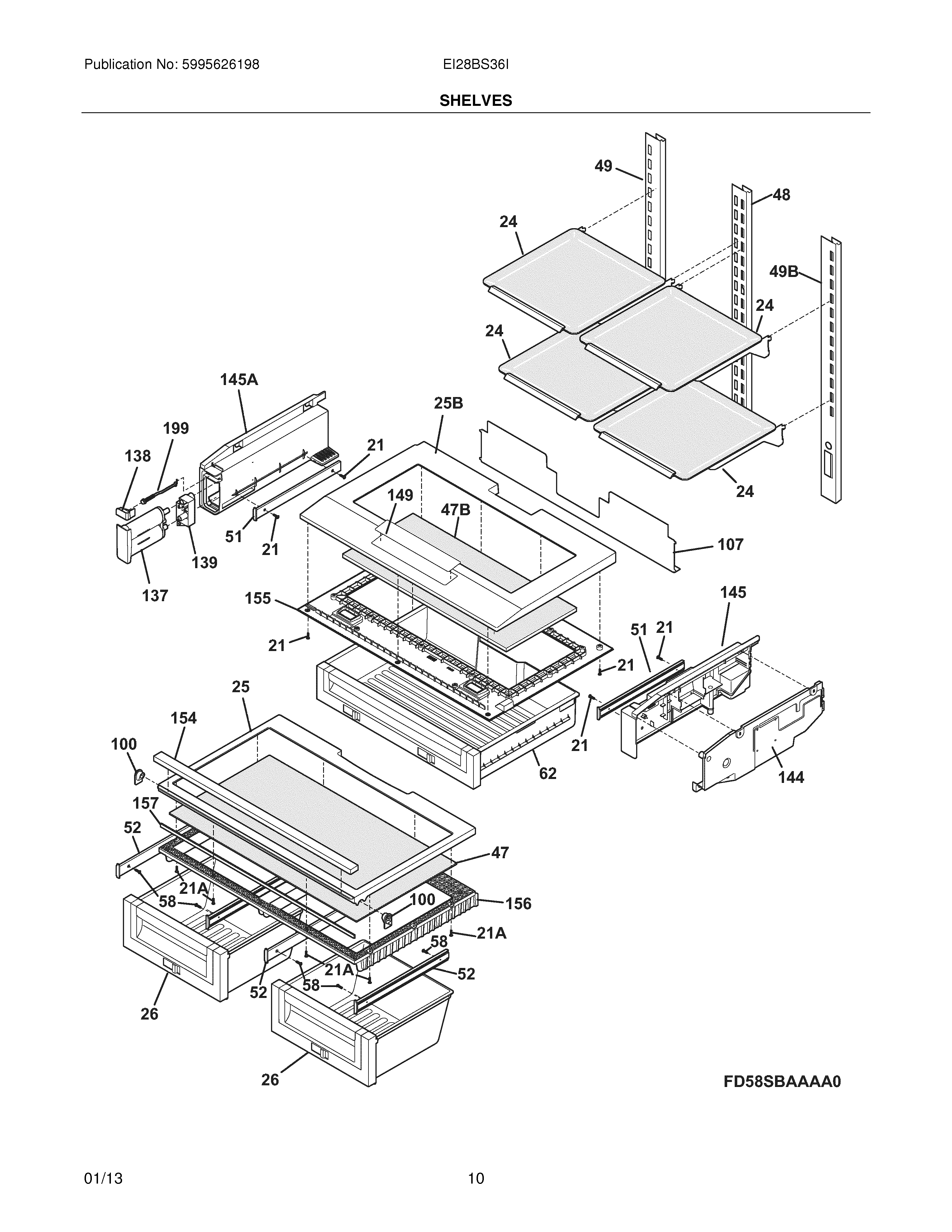
EI28BS36IW4 09 – SHELVES