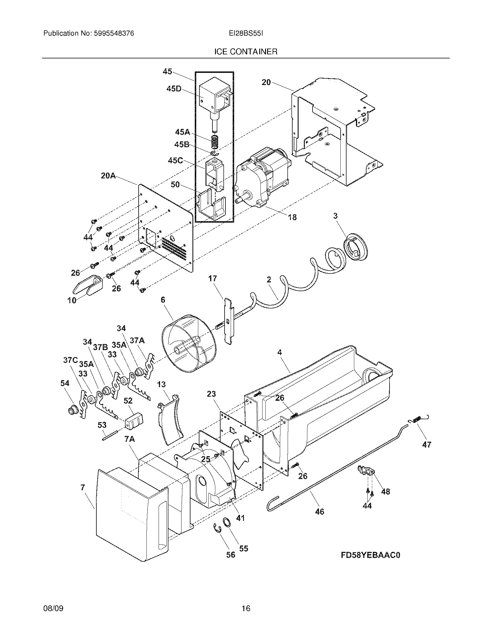
EI28BS55IS0 15 – ICE CONTAINERadmin2025-04-26T08:51:37+00:00EI28BS55IS0 15 – ICE CONTAINER ProductsPositionProductNIWCI 7241869702NIWCI 7241869701NIWCI 7242007101NIWCI 72418433012WCI 72418294013WCI 72418302014241816801 Frigidaire Refrigerator Ice Container6241829802 Frigidaire Drum Ice Dispenser7WCI 72418297017AWCI 724184420110241829001 Frigidaire Refrigerator Bar Drive13WCI 724182990117WCI 724183060118241816602 Frigidaire Refrigerator Motor-AUGER20WCI 724182890120AWCI 724184310123241829501 Frigidaire Refrigerator Plate-Front25240555002 Frigidaire Refrigerator Screw #8-32 X 3/826241690602 Frigidaire Refrigerator Screw33241684802 Frigidaire Refrigerator Spacer34241689802 Frigidaire Refrigerator Spacer35AWCI 724183040137BWCI 724183030237CWCI 724183030337AWCI 724183030141WCI 724183000144218359202 Frigidaire Refrigerator Screw45241675704 Frigidaire Refrigerator Solenoid Assembly45C241676101 Frigidaire Refrigerator Solenoid-Actuator45B241676001 Frigidaire Refrigerator E-Ring Solenoid45A241675902 Frigidaire Refrigerator Solenoid Spring46WCI 724181790147241839001 Frigidaire Refrigerator Spring-Control Rod48241830101 Frigidaire Refrigerator Bracket-Control50241675601 Frigidaire Refrigerator Solenoid Guide52WCI 724183070153241869601 Frigidaire Refrigerator Pin54241829601 Frigidaire Refrigerator Nut-Auger55WCI 724169030156241690201 Frigidaire Refrigerator E-Ring