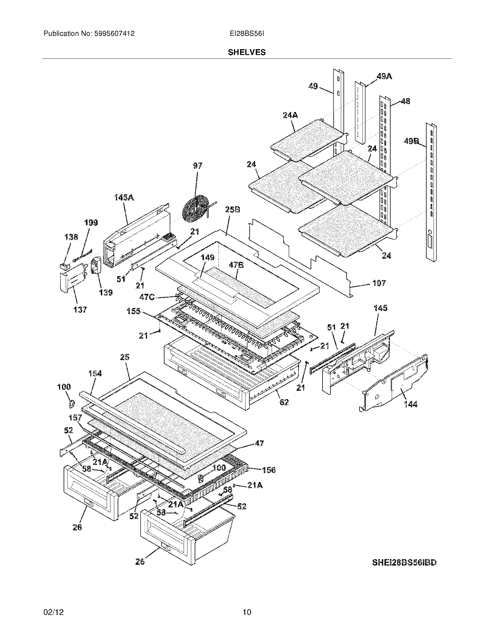
EI28BS56IBD 09 – SHELVES