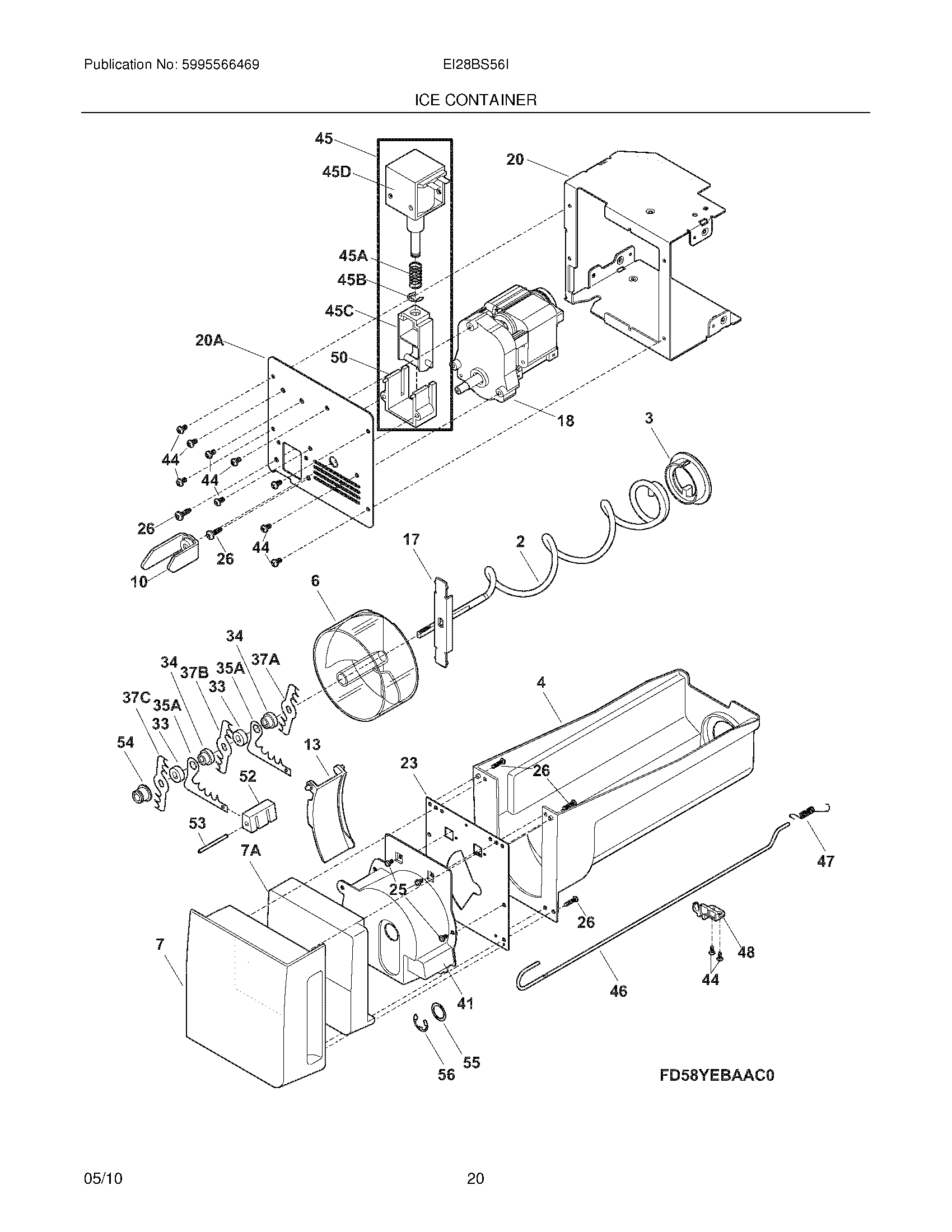
EI28BS56IS5 15 – ICE CONTAINER