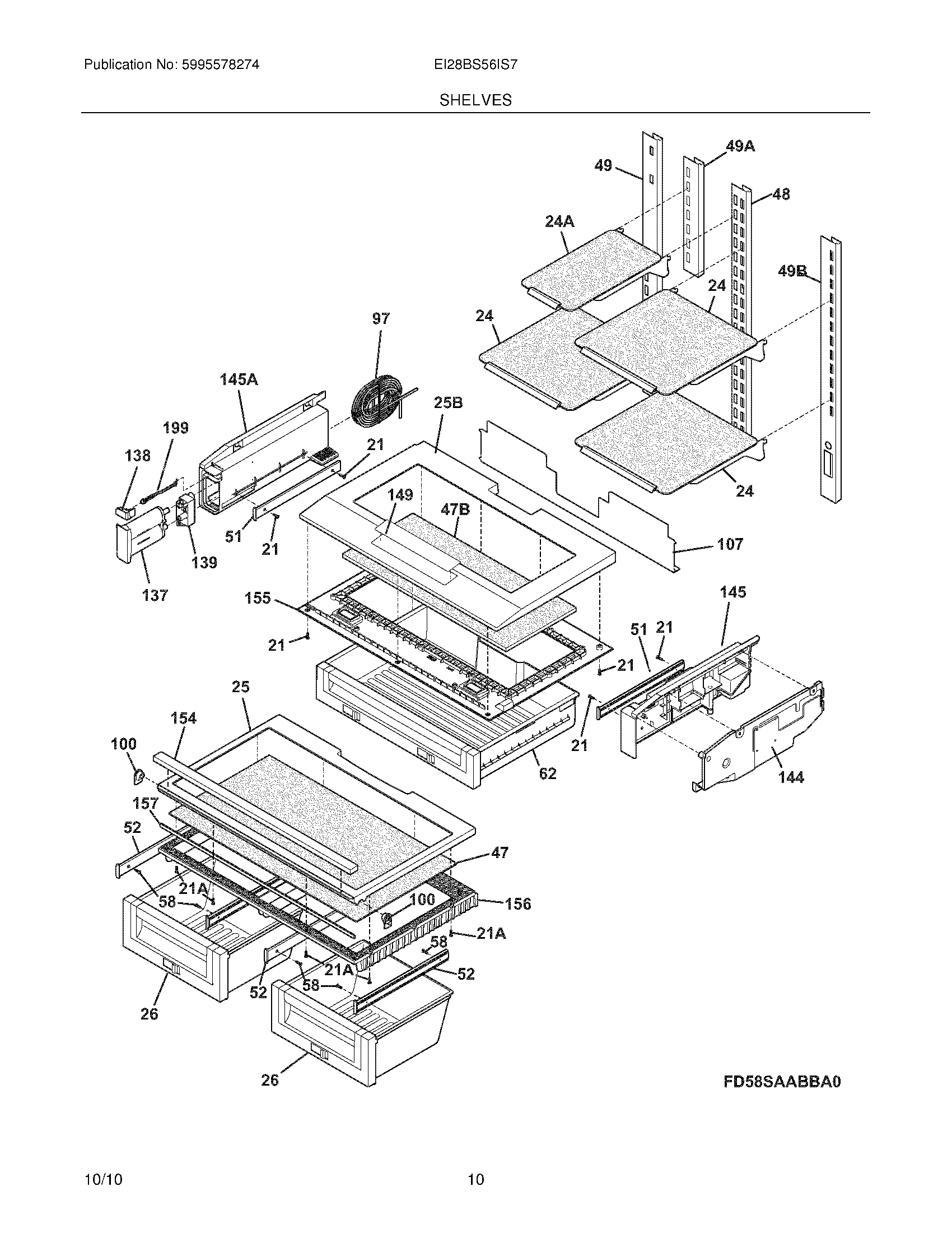
EI28BS56IS7 09 – SHELVES