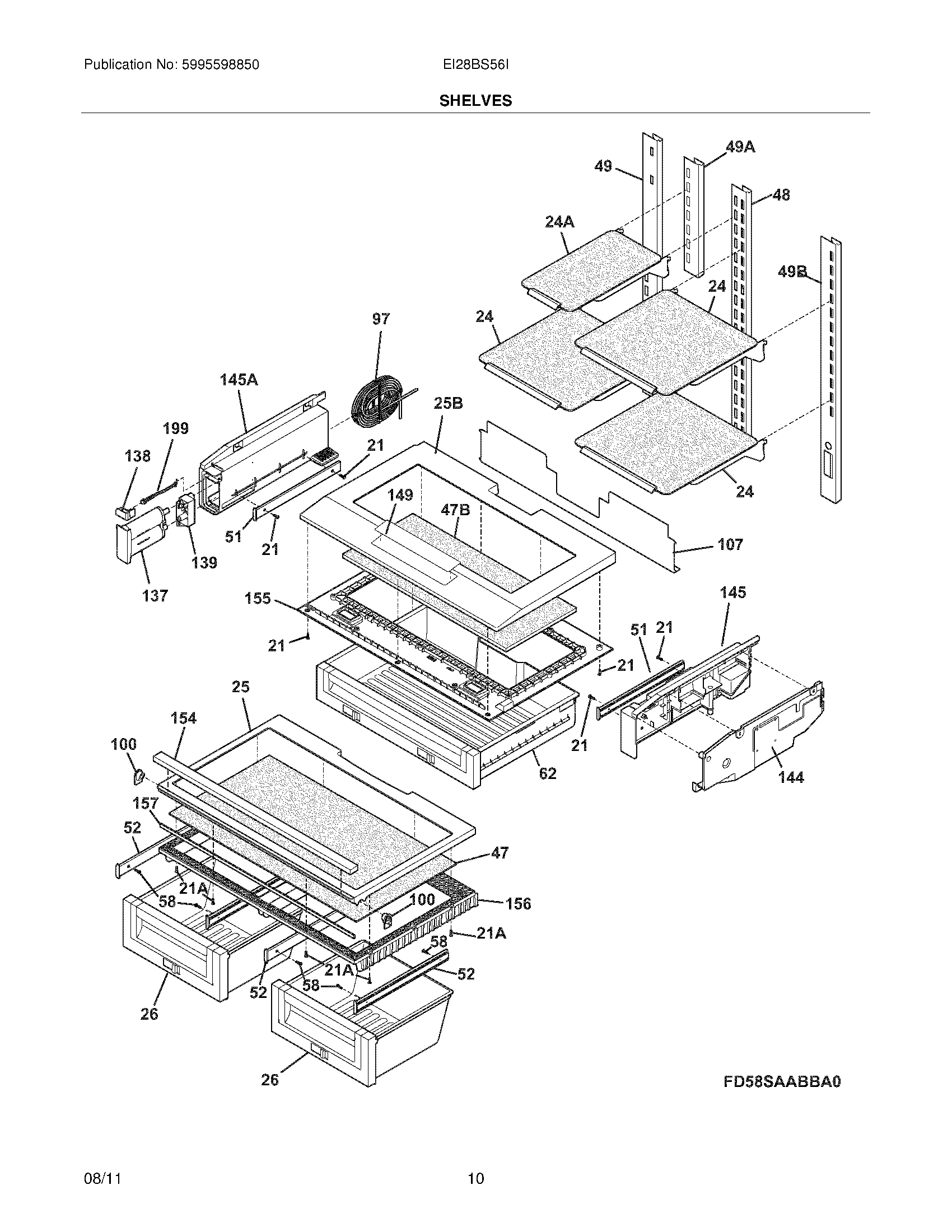
EI28BS56ISB 09 – SHELVES