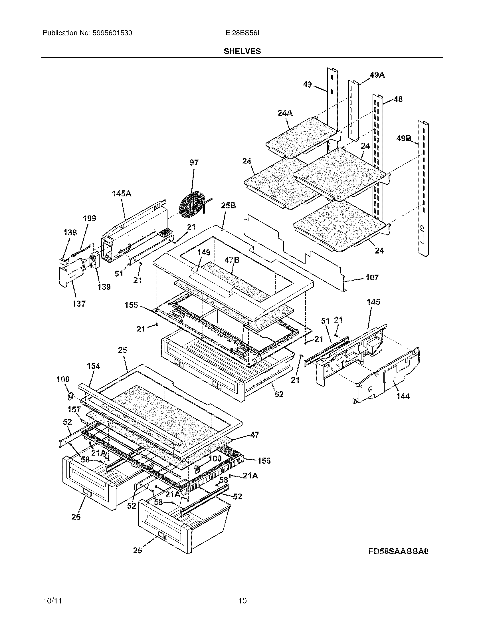
EI28BS56IWC 09 – SHELVES