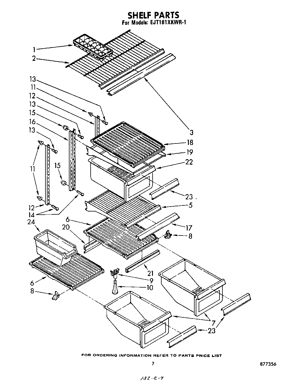
| 1 | WP841180A Whirlpool Microwave Glass Turntable Tray |
| 2 | Shelf, Freezer |
| 3 | Trim, Shelf Front |
| 5 | Shelf, Cantilever (3) |
| 6 | Cover, Pan Slide (2) |
| 7 | Pan, Crisper (2) |
| 8 | Shelf, Stud |
| 9 | Support, Cover |
| 10 | Post, Cover |
| 11 | 520965 Whirlpool Refrigerator Support |
| 12 | Shelf, Ladder (2) |
| 13 | Screw, 8 x 1-1/4 (3) |
| 14 | Screw (Repair) |
| 14 | Screw, 8-32 x 1-1/4 |
| 15 | Screw Support, Center Ladder (2) |
| 16 | Shelf, Ladder |
| 17 | Trim, Shelf Front |
| 18 | Cover, Pan Slide |
| 19 | Pan Shelf, Cantilever |
| 20 | Gasket, Rear |
| 21 | Gasket, Front (2) |
| 22 | Pan, Meat |
| 23 | Overlay, Pan (3) |
| 24 | WP982704 Whirlpool Refrigerator Container |