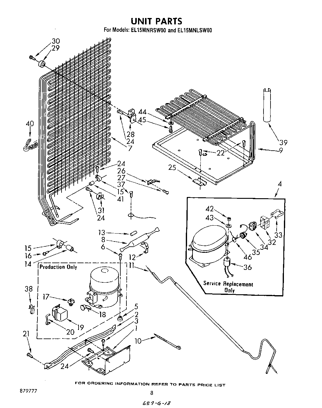
| 1 | Unit Mounting Plate |
| 2 | Unit Mounting Rail |
| 3 | WP965173 Whirlpool Dishwasher Screw |
| 4 | Compressor (Includes Items 32, 33, 34, 35, 36, 43, & 44) |
| 5 | 876811 Whirlpool Grommet |
| 7 | Condenser & Precooler Assembly (Formed) |
| 8 | W10843121 Whirlpool Refrigerator Tube |
| 9 | Evaporator Assembly |
| 10 | Strap |
| 11 | Heat Exchanger |
| 12 | Drier Clamp |
| 13 | Restrictor Sleeve |
| 14 | Dampener |
| 15 | Clamp Tube |
| 16 | WPW10141625 Whirlpool Refrigerator Screw Assembly |
| 17 | Relay |
| 18 | Overload |
| 19 | Terminal Cover |
| 21 | 489340 Whirlpool Refrigerator Screw |
| 22 | Screw, 8-15 x 1/2 (4) |
| 22 | Screw (Repair) |
| 24 | WP489069 Whirlpool Compactor Screw |
| 25 | Clamp, Capillary Tube |
| 26 | Hold Down Heat Exchanger |
| 27 | W11624204 Whirlpool Screw |
| 28 | Condenser Bracket (Top) |
| 29 | Bumper, Rubber |
| 30 | Screw, 8 x 7/8 |
| 31 | 4386951 Whirlpool Refrigerator Clip |
| 32 | Cover, Terminal |
| 33 | Strap |
| 34 | WP2262181 Whirlpool Refrigerator Start Relay |
| 35 | Overload |
| 36 | Capacitor |
| 37 | 303776 Whirlpool Dishwasher Screw |
| 38 | W10812038 Whirlpool Refrigerator Clip |
| 39 | Cover, Connecting Lines |
| 40 | Clip, Tube |
| 41 | Dampener |
| 42 | Nut |
| 43 | Washer |
| 44 | WP487802 Whirlpool Refrigerator Washer |
| 45 | W10759522 Whirlpool Screw |
| 46 | VALVE, ACCESS (5/8``) |
| 46 | 876764 Whirlpool Refrigerator Primary Valve |
| 46 | Overload Spring |
| 46 | WP978025 Whirlpool Refrigerator Valve |
| 46 | 978030 Whirlpool Refrigerator Valve |
| 46 | 978027 Whirlpool Refrigerator Primary Valve |
| 46 | 978026 Whirlpool Refrigerator Primary Valve |
| 46 | VALVE, ACCESS (1/2``) |