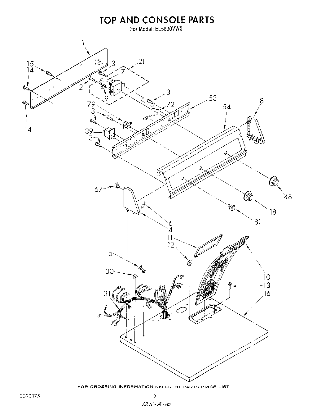
EL5030VW0 02 – SECTION