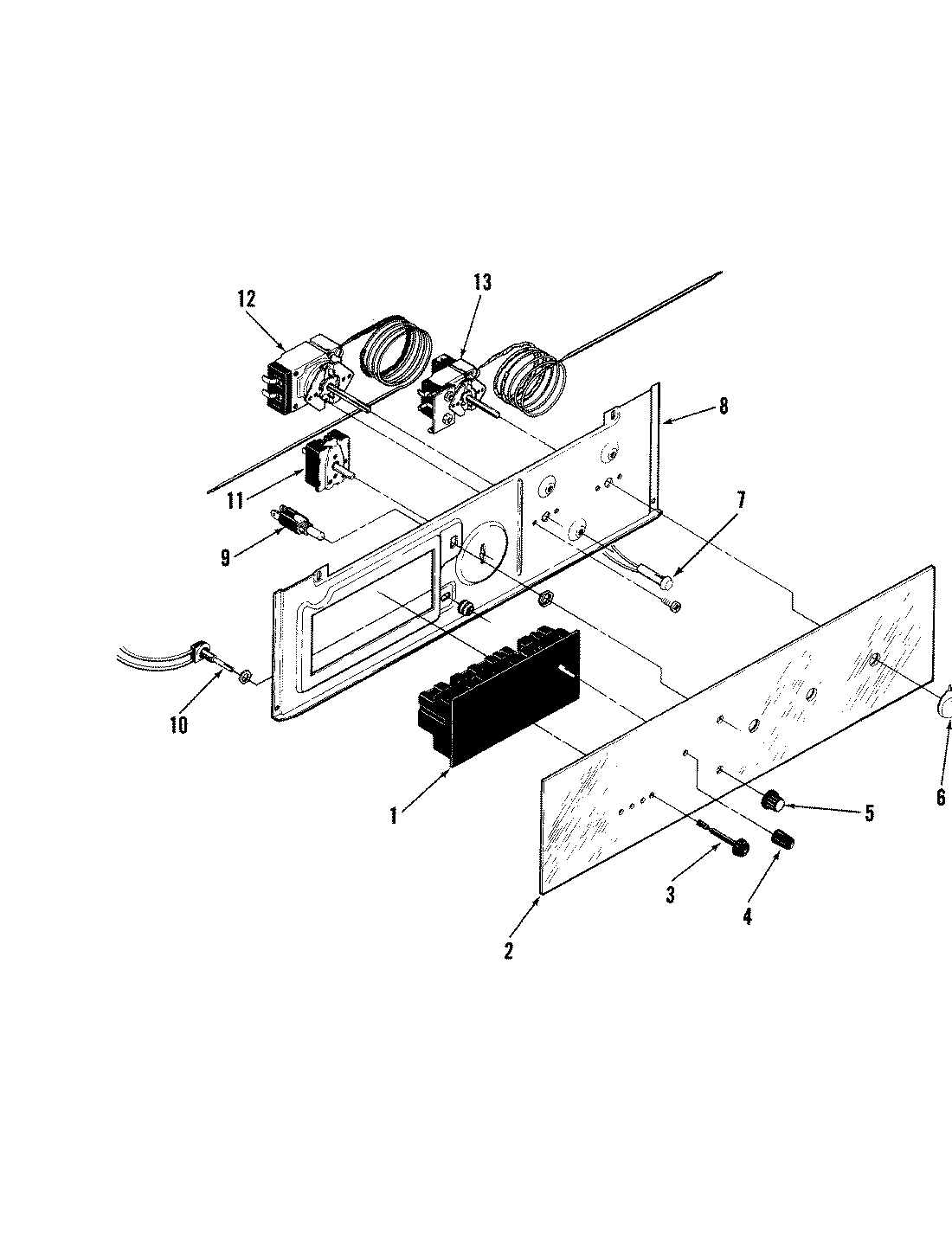
EPE7 01 – CONTROL PANELadmin2025-04-26T11:58:02+00:00EPE7 01 – CONTROL PANEL ProductsPositionProduct1MAY 7601P047-602MAY 7902P202-603MAY 7711P171-604MAY 7711P172-605MAY 13592636MAY 7711P085-607MAY 15552467MAY 7407P009-608MAY 7101P101-608MAY 3601F096-809MAY 7403P003-6010MAY 7403P024-6011MAY 183238713MAY 7404P027-60