ER8AHKXPL00 04 – UNIT PARTS

ER8AHKXPL00 04 – UNIT PARTS

Products

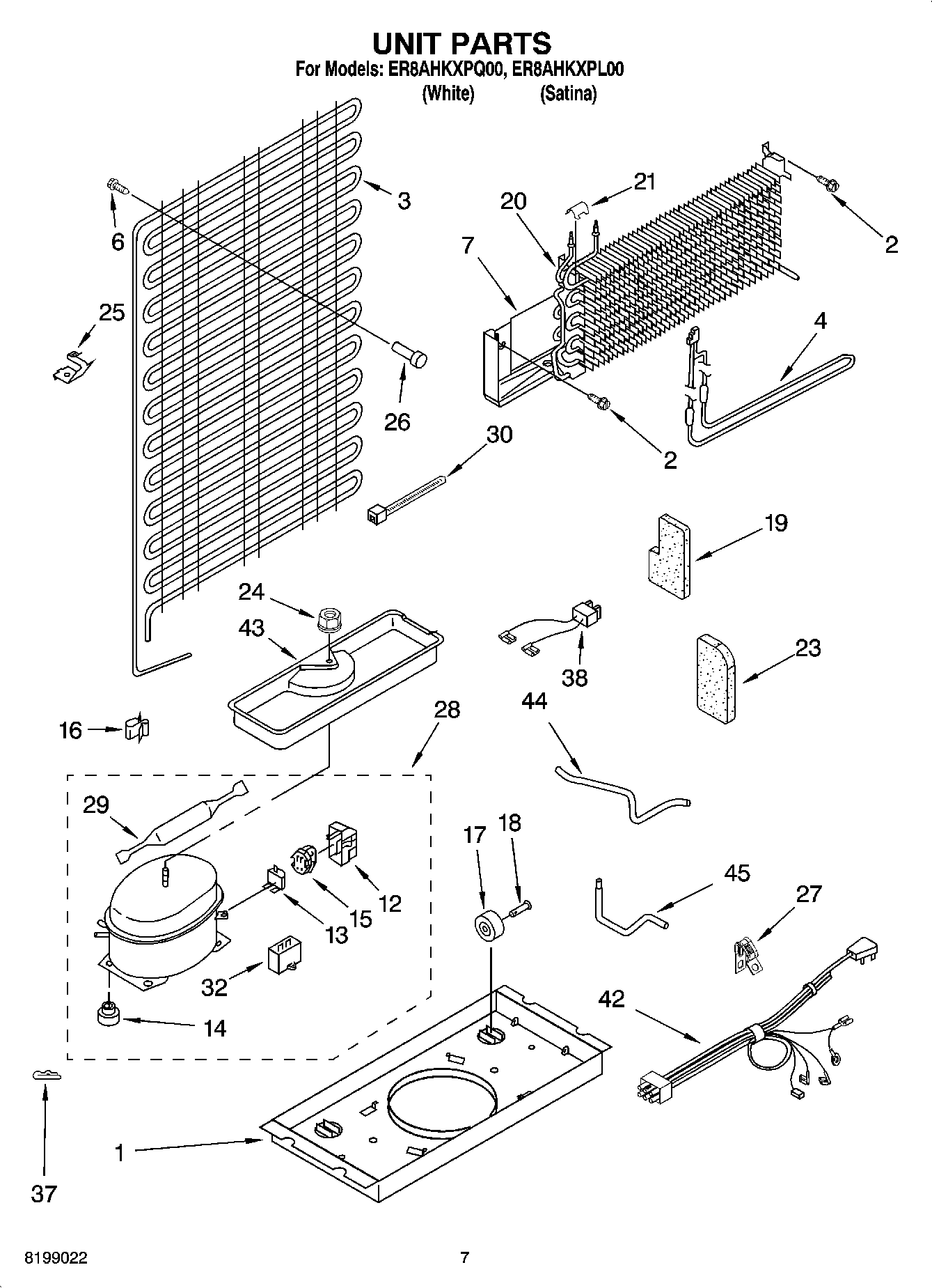
PositionProduct
1WPW10222451 Whirlpool Refrigerator Support
2WP489442 Whirlpool Refrigerator Screw
3WPW10219349 Whirlpool Refrigerator Condenser
4WP2263749 Whirlpool Defrost Heater Assembly
6Screw
7Heat Shield
12WP2162358 Whirlpool Refrigerator Terminal Cover
13WP2214067 Whirlpool Refrigerator Overload Relay
14WP4387558 Whirlpool Refrigerator Compressor Grommet
14WP2163786 Whirlpool Refrigerator Grommet
15W10920279 Whirlpool Refrigerator Start Relay
15WP2262181 Whirlpool Refrigerator Start Relay
16W10812038 Whirlpool Refrigerator Clip
17WPW10475495 Whirlpool Roller Assembly
18W11594405 Whirlpool Axle
198201619 Whirlpool Refrigerator Support Assembly
20WP2263920 Whirlpool Refrigerator Evaporator
219791833 Whirlpool Refrigerator Clip
24285002 Whirlpool Nut
254386951 Whirlpool Refrigerator Clip
262258452 Whirlpool Refrigerator Spacer
27549193 Whirlpool Refrigerator Power Clamp
28W10309988 Whirlpool Refrigerator Compressor
29W10843121 Whirlpool Refrigerator Tube
30WPW10339879 Whirlpool Wire Tie
32WPW10662129 Whirlpool Refrigerator Run Capacitor
37Clip, Compressor
38WP2172890 Whirlpool Refrigerator Wire
42Wire Assy. Unit
43Tray, Evaporator
44Tube, Discharge
45W11661102 Whirlpool Tube
45Following Parts Not Illustrated and Optional Parts Not Included
45978027 Whirlpool Refrigerator Primary Valve
45876764 Whirlpool Refrigerator Primary Valve
45978026 Whirlpool Refrigerator Primary Valve
45978030 Whirlpool Refrigerator Valve
45WP978025 Whirlpool Refrigerator Valve
45VALVE, ACCESS (1/2``)
45VALVE, ACCESS (5/8``)
45REFRIGERANT CHARGE 3.75 Ozs. (R134A)