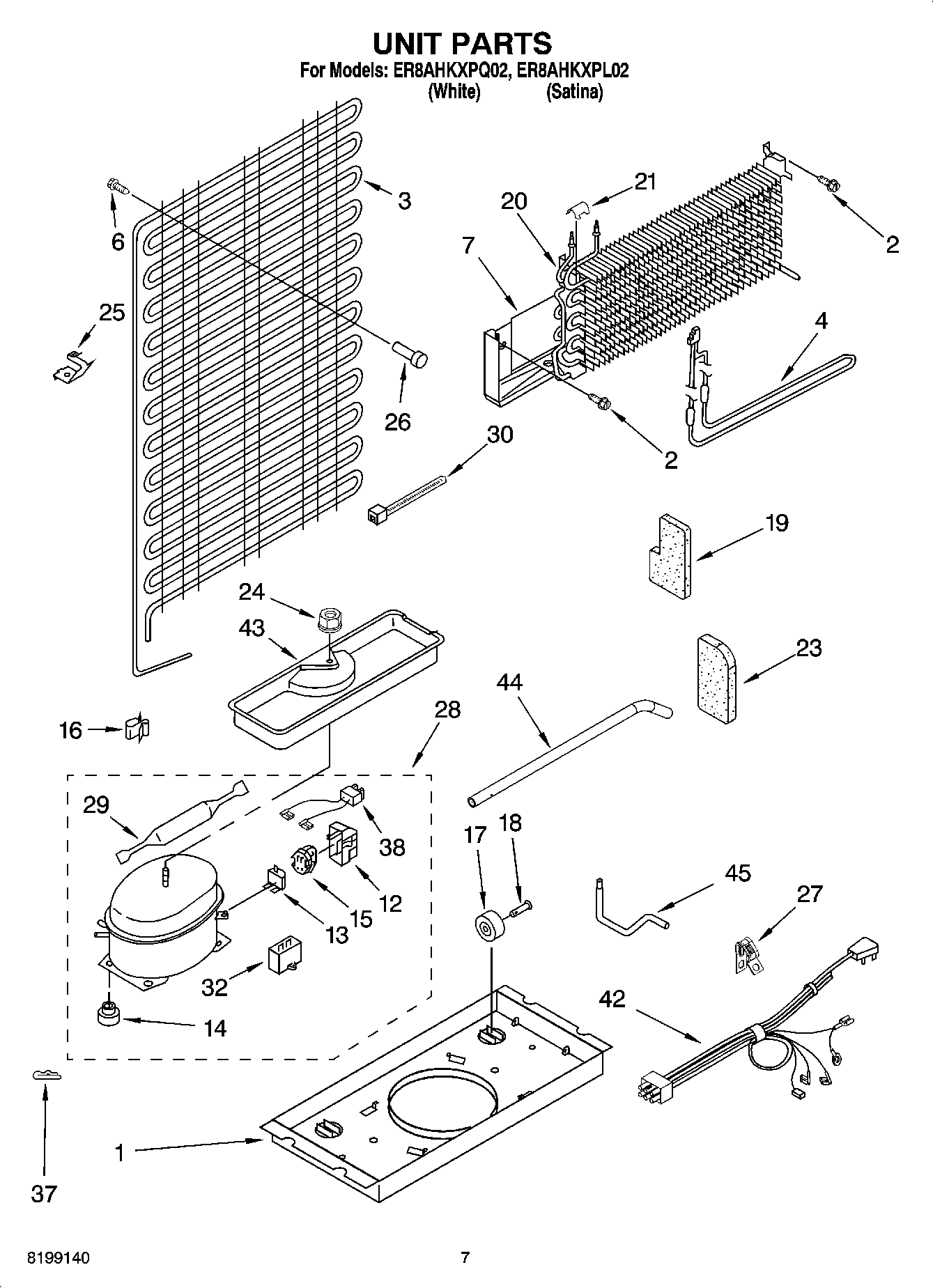
ER8AHKXPQ02 04 – UNIT PARTSadmin2025-04-26T11:07:47+00:00ER8AHKXPQ02 04 – UNIT PARTS ProductsPositionProduct1WPW10222451 Whirlpool Refrigerator Support2WP489442 Whirlpool Refrigerator Screw3WPW10219349 Whirlpool Refrigerator Condenser4WP2263749 Whirlpool Defrost Heater Assembly6Screw7Heat Shield12WP2162358 Whirlpool Refrigerator Terminal Cover13WP2214067 Whirlpool Refrigerator Overload Relay14WP4387558 Whirlpool Refrigerator Compressor Grommet14WP2163786 Whirlpool Refrigerator Grommet15W10920279 Whirlpool Refrigerator Start Relay15WP2262181 Whirlpool Refrigerator Start Relay16W10812038 Whirlpool Refrigerator Clip17WPW10475495 Whirlpool Roller Assembly18W11594405 Whirlpool Axle198201619 Whirlpool Refrigerator Support Assembly20WP2263920 Whirlpool Refrigerator Evaporator219791833 Whirlpool Refrigerator Clip24285002 Whirlpool Nut254386951 Whirlpool Refrigerator Clip262258452 Whirlpool Refrigerator Spacer27549193 Whirlpool Refrigerator Power Clamp28W10309988 Whirlpool Refrigerator Compressor29W10843121 Whirlpool Refrigerator Tube30WPW10339879 Whirlpool Wire Tie32WPW10662129 Whirlpool Refrigerator Run Capacitor37Clip, Compressor38WP2172890 Whirlpool Refrigerator Wire42Wire Assy. Unit43Tray, Evaporator442264423 Whirlpool Tube45W11661102 Whirlpool Tube45Following Parts Not Illustrated and Optional Parts Not Included45978027 Whirlpool Refrigerator Primary Valve45876764 Whirlpool Refrigerator Primary Valve45978026 Whirlpool Refrigerator Primary Valve45978030 Whirlpool Refrigerator Valve45WP978025 Whirlpool Refrigerator Valve45VALVE, ACCESS (1/2``)45VALVE, ACCESS (5/8``)45REFRIGERANT CHARGE 3.75 Ozs. (R134A)