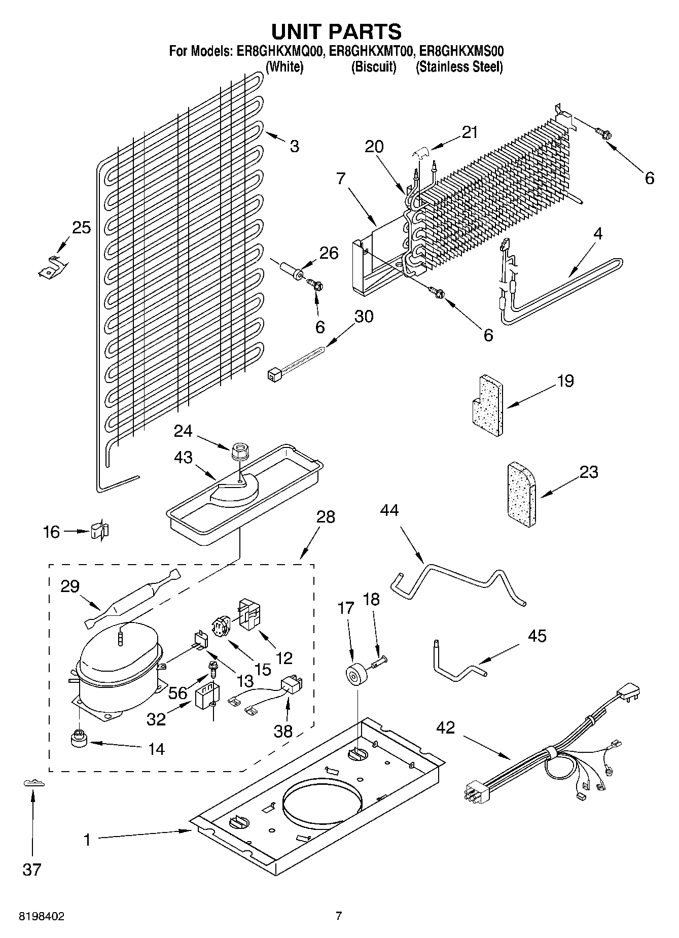
ER8GHKXMT00 04 – UNIT PARTS

ER8GHKXMT00 04 – UNIT PARTS