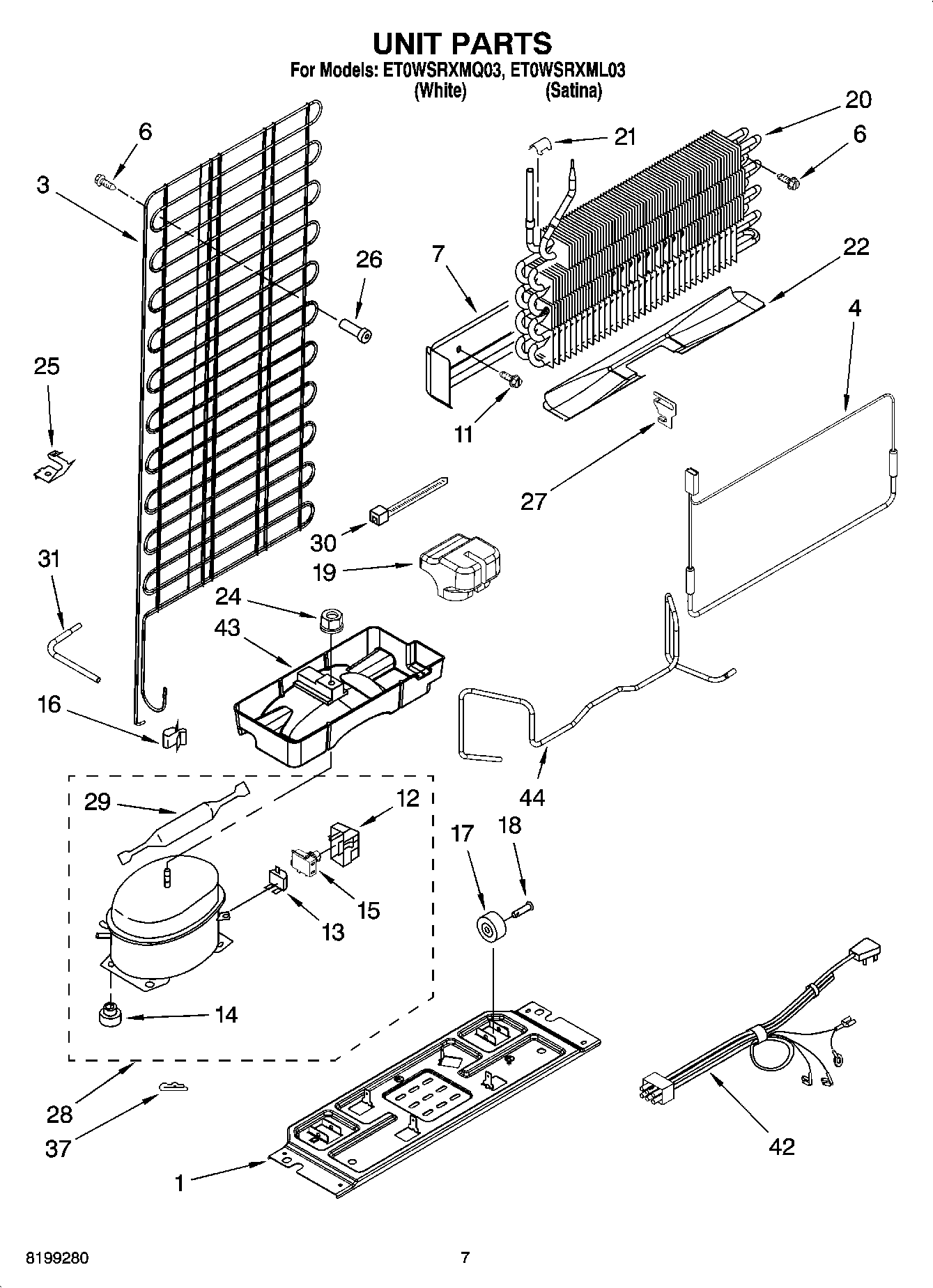
ET0WSRXMQ03 04 – UNIT PARTSadmin2025-04-26T11:08:24+00:00ET0WSRXMQ03 04 – UNIT PARTS ProductsPositionProduct12211011 Whirlpool Support3Condenser4WP2210895 Whirlpool Refrigerator Heater6Screw7Heat Shield11WP489442 Whirlpool Refrigerator Screw12WP2162358 Whirlpool Refrigerator Terminal Cover132264602 Whirlpool Refrigerator Overload14WP2163786 Whirlpool Refrigerator Grommet152264603 Whirlpool Refrigerator Start Relay16W10812038 Whirlpool Refrigerator Clip17WPW10475495 Whirlpool Roller Assembly18W11594405 Whirlpool Axle19Wedge, Evaporator20Evaporator Assy.219791833 Whirlpool Refrigerator Clip222265095 Whirlpool Refrigerator Drip Pan24285002 Whirlpool Nut254386951 Whirlpool Refrigerator Clip262258451 Whirlpool Spacer272211075 Whirlpool Bracket28Compressor (Includes Illus. 12,13,14 15 & 29)29W10843121 Whirlpool Refrigerator Tube30WPW10339879 Whirlpool Wire Tie31Tube, Process37Clip, Compressor422264421 Whirlpool Refrigerator Wire Harness43Evaporator Tray44REFRIGERANT CHARGE 3.00 Ozs. (R134A)44876764 Whirlpool Refrigerator Primary Valve44978026 Whirlpool Refrigerator Primary Valve44978027 Whirlpool Refrigerator Primary Valve44978030 Whirlpool Refrigerator Valve44WP978025 Whirlpool Refrigerator Valve44VALVE, ACCESS (1/2``)44Tube, Discharge44Following Parts Not Illustrated and Optional Parts Not Included44VALVE, ACCESS (5/8``)