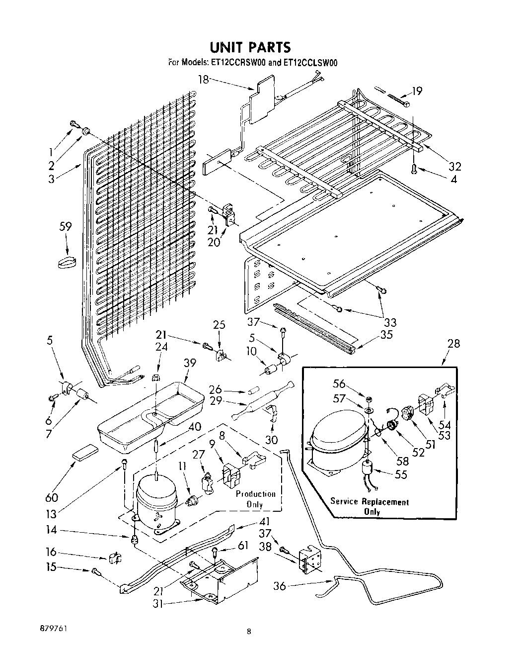
ET12CCLSM00 05 – UNIT