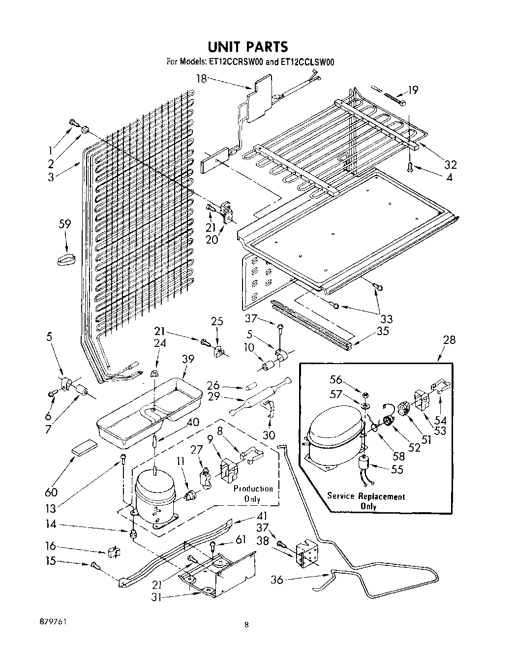
ET12CCRSF00 05 – UNIT