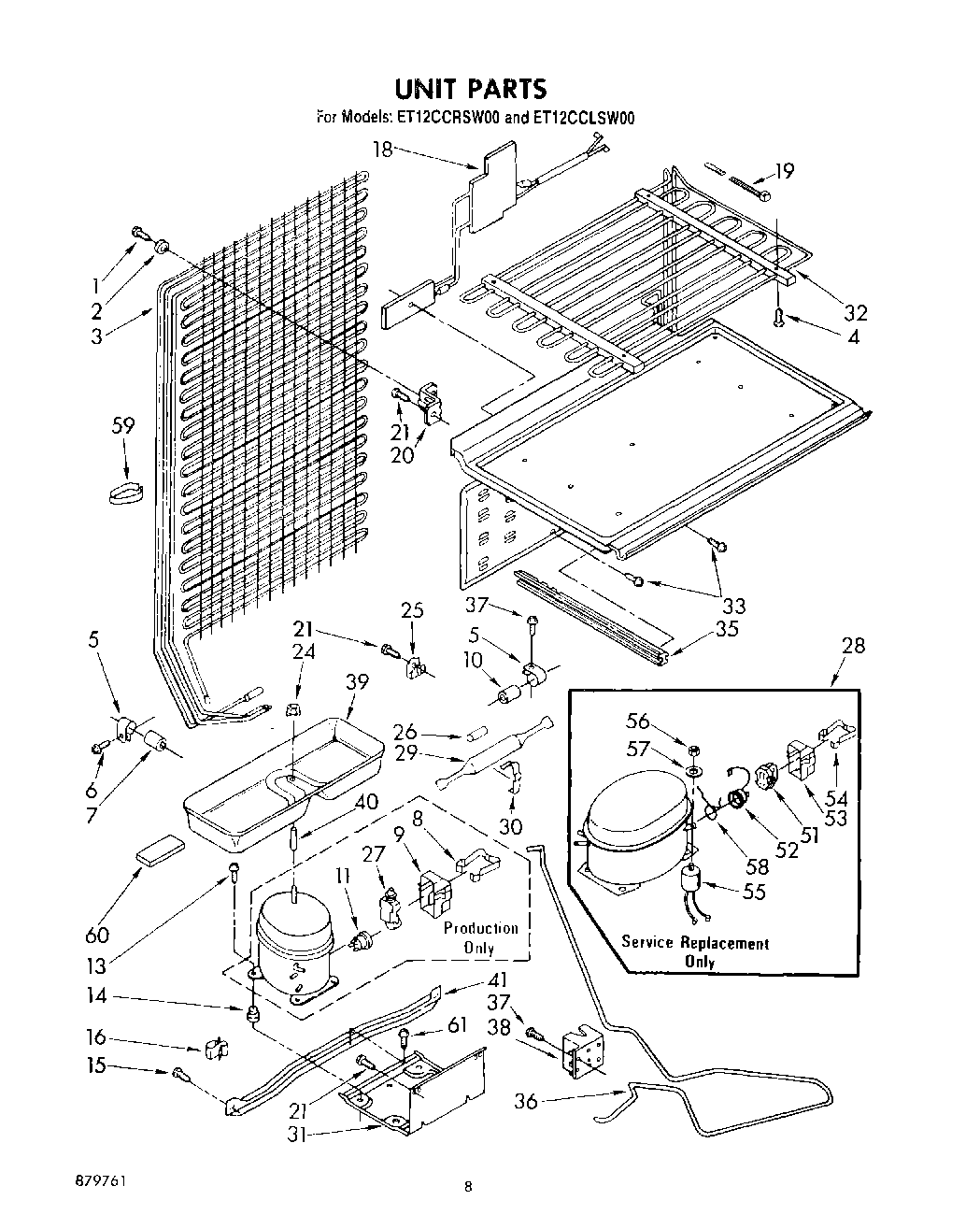
ET12CCRSW00 05 – UNIT