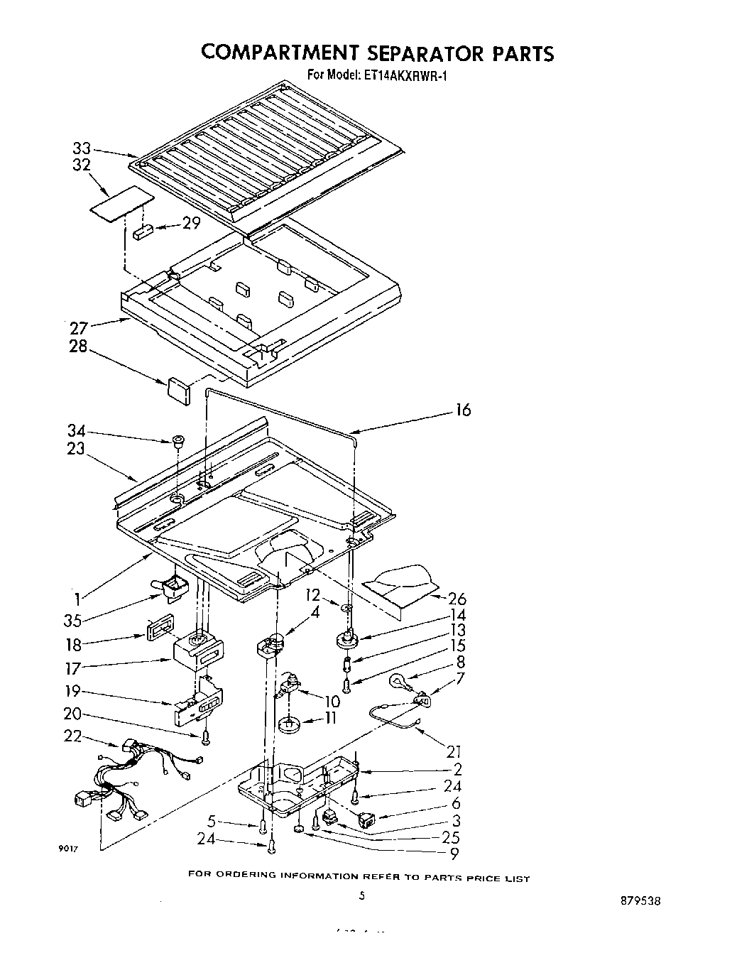
ET14AKXRWR1 04 – COMPARTMENT SEPARATOR