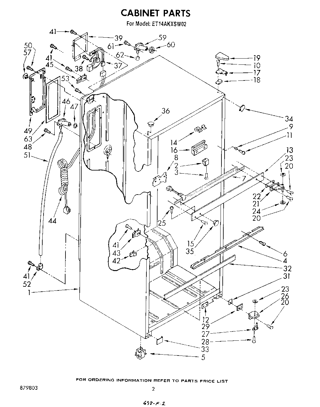
ET14AKXSW02 02 – CABINET

ET14AKXSW02 02 – CABINET

Products

PositionProduct
1Cabinet (Not A Serviceable Part)
2Spacer (2)
3Screw, 8 x 7/8
4Filler, Rail Center
5Roller, Front & Rear (4)
6WPL 489167
7Heater, Mullion
8Center Rail, Bracket (2)
9Ferrule, Center Rail
10WP999367 Whirlpool Refrigerator Screw
11Screw
12WPL 944813
13Center Rail (Almond)
13Center Rail (Golden Harvest)
13Center Rail (White)
13Center Rail (Platinum)
13Center Rail (Toast)
14Breaker, Trim Clip
15Screw
16Center, Rail Shim (2)
17Shim, Hinge Top
18Shim, Hinge
191119787 Whirlpool Refrigerator Hinge Cover
19Hinge Cover (Golden Harvest)
19Hinge Cover (Toast)
20Screw (Repair)
20Screw
21Hinge, Center
22Shim, Hinge Center
23WP487802 Whirlpool Refrigerator Washer
24WP488296 Whirlpool Washer Refrigerator
25WP488729 Whirlpool Refrigerator Door Screw
26Hinge Butt, Bottom
27Hinge Pin, Bottom
28Screw 10-32 x 5/16
29Shim, Bottom
31Cover, Glider Rail (Almond)
31Cover, Glider Rail (Golden Harvest)
31Cover, Glider Rail (White)
31Cover, Glider Rail (Toast)
31Cover, Glider Rail (Platinum)
32Cover, Deck Rail (Golden Harvest)
32Cover, Deck Rail (White)
32Cover, Deck Rail (Almond)
32Cover, Deck Rail (Platinum)
32Cover, Deck Rail (Toast)
33WPL 944831
33WPL 1100682
33WPL 943552
33Cover, Gl
33WPL 944833
34WPL 1110688
34WPL 1110687
34WPL 1110686
34WPL 1110685
34WPL 1110684
35Hole Plug (2) (Platinum)
35Hole Plug (2) (Golden Harvest)
35Hole Plug (2)
35Hole Plug (2) (Almond)
35Hole Plug (2) (Toast)
36Hole Plug (2) (White)
36Hole Plug (3) (Toast)
36Hole Plug (3) (Platinum)
36Hole Plug (2) (Almond)
36Hole Plug (2) (Golden Harvest)
37WPL 942844
38WP250830 Whirlpool Refrigerator Screw
39WPL 942845
41W11624204 Whirlpool Screw
42W10812038 Whirlpool Refrigerator Clip
43549193 Whirlpool Refrigerator Power Clamp
44Cord, Service
45Clamp
46WPL 942813
47WPL 1106507
48WP98165 Whirlpool Screw
49WPL 942854
518316810 Whirlpool Refrigerator Drain Tube
52WPL 519405
53WP489069 Whirlpool Compactor Screw
57WPL 655411
59WP2196157 Whirlpool Fill Tube
60WP1106508 Whirlpool Refrigerator Gasket
62WP487996 Whirlpool Refrigerator Cap Tube
63WPL 1106510