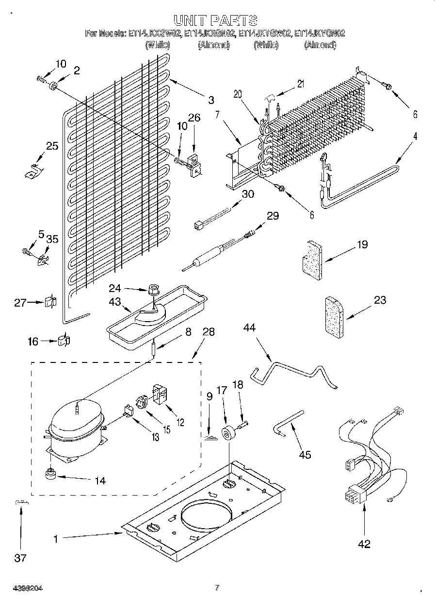
ET14JKYGW02 04 – UNIT