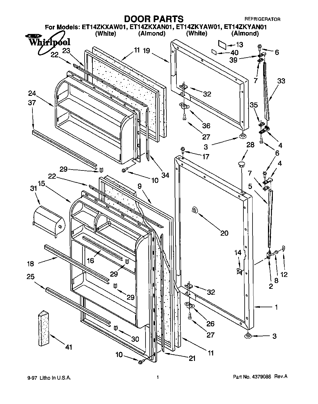
ET14ZKXAW01 01 – DOOR

ET14ZKXAW01 01 – DOOR