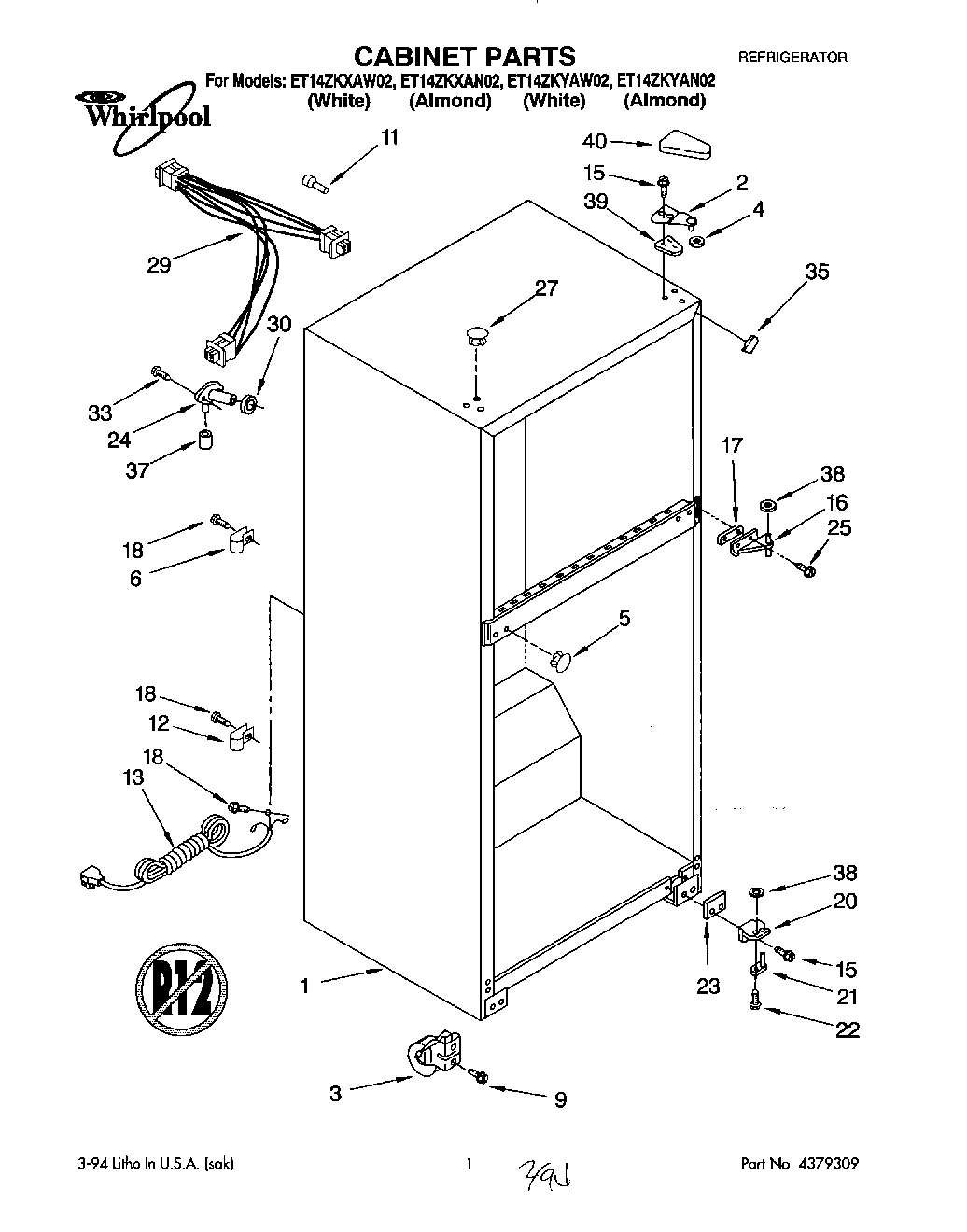
ET14ZKXAW02 01 – CABINET