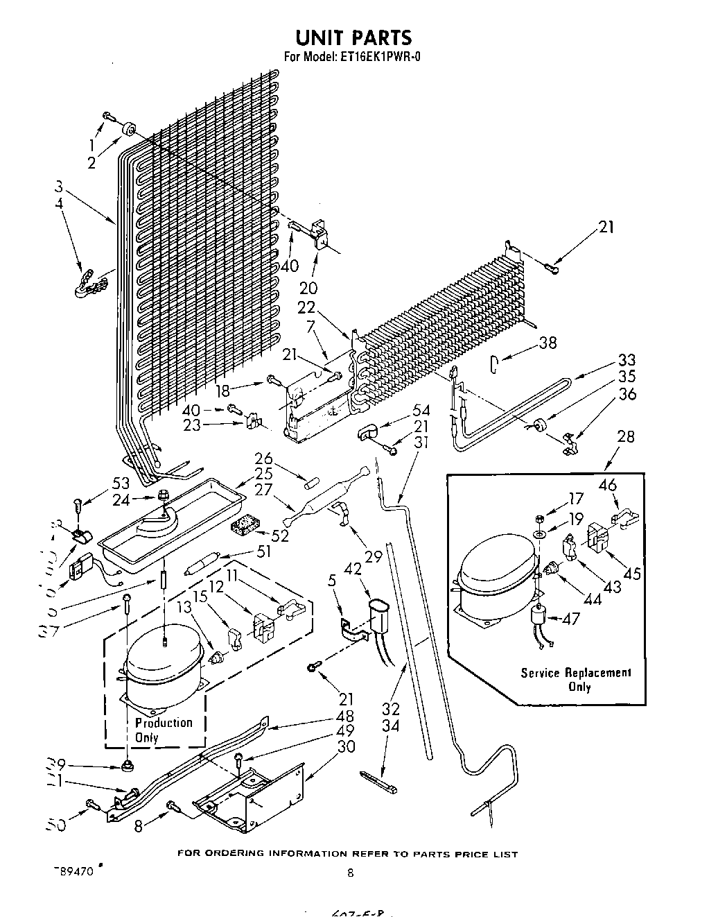
ET16EK1PWR0 07 – UNIT