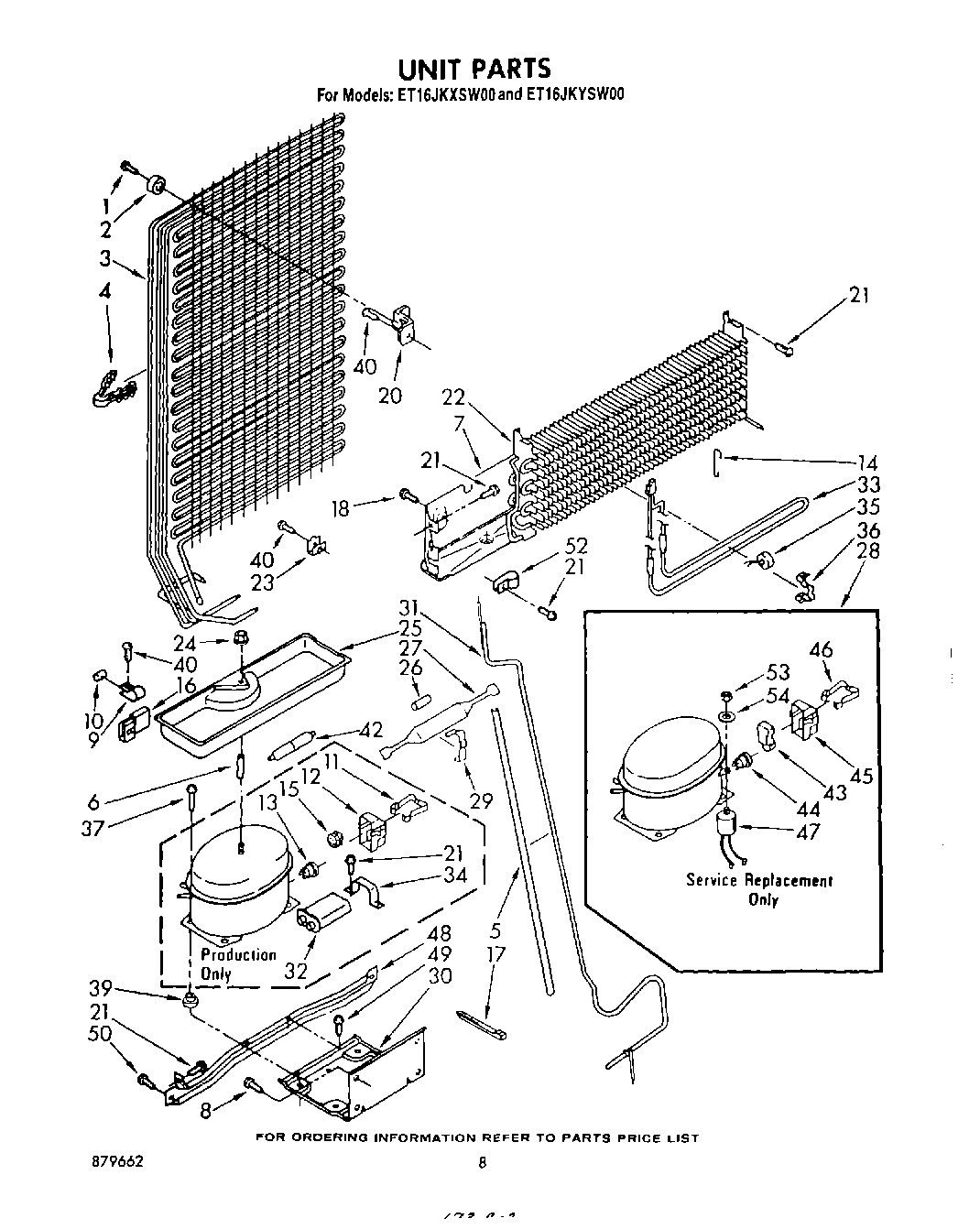
ET16JKXSW00 07 – UNIT