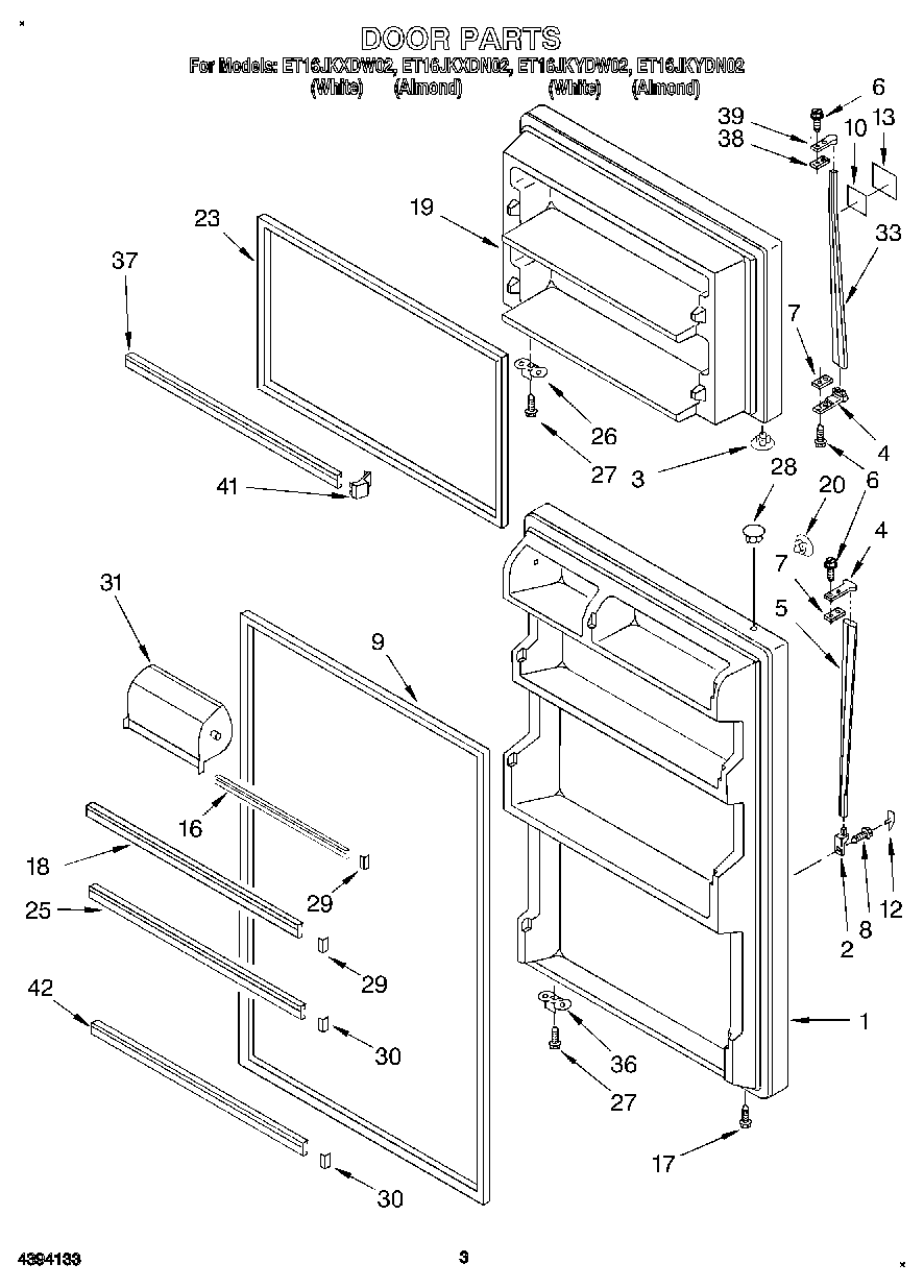
ET16JKYDW02 02 – DOOR