ET16JKYSM03 07 – UNIT

ET16JKYSM03 07 – UNIT

Products

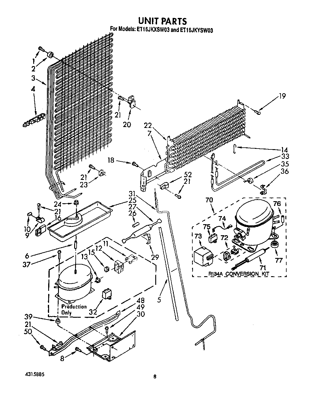
PositionProduct
1WP488163 Whirlpool Refrigerator Screw
2Bumper
3Condenser & Precooler Assembly
4Clip, Tube (2)
5WP2002171 Whirlpool Refrigerator Sleeve
6Spacer
7Heat Shield Evaporator
8WP489069 Whirlpool Compactor Screw
9Clamp Tube
10Dampener
11Strap
12Cover
13Overload
14Support, Heater
15WP2262181 Whirlpool Refrigerator Start Relay
16WP717253 Whirlpool Dishwasher Connector
19WP489174 Whirlpool Refrigerator Screw
20Bracket, Condenser
21SCREW
21WP489478 Whirlpool Refrigerator Screw
22Evaporator
234386951 Whirlpool Refrigerator Clip
24285002 Whirlpool Nut
25Evaporator Tray
26Restrictor Sleeve
29Drier Clamp
30Unit Mounting Plate
31Heater, Defrost
32WPW10662129 Whirlpool Refrigerator Run Capacitor
33Heater, Defrost
35WP4387499 Whirlpool Refrigerator Bimetallic Defrost
36Clamp
39876811 Whirlpool Grommet
48Unit Mounting Rail
49WP965173 Whirlpool Dishwasher Screw
50Screw, 1/4-28 x 1
52Tube, Clamp
70Compressor (Includes Items 71, 72, 73, 74, 75, 76, & 77) (Also Order
70876765 Whirlpool Primary Mounting Kit Refrigerator
70Installation Kit
71W10843121 Whirlpool Refrigerator Tube
72OVERLOAD
73WP2162358 Whirlpool Refrigerator Terminal Cover
74WP2172890 Whirlpool Refrigerator Wire
75WP4387764 Whirlpool Run Capacitor
76Sleeve (4) (Service Only)
77VALVE, ACCESS (5/8``)
77WP4387558 Whirlpool Refrigerator Compressor Grommet
77876764 Whirlpool Refrigerator Primary Valve
77978026 Whirlpool Refrigerator Primary Valve
77978027 Whirlpool Refrigerator Primary Valve
77VALVE, ACCESS (1/2``)
77WP978025 Whirlpool Refrigerator Valve
77978030 Whirlpool Refrigerator Valve