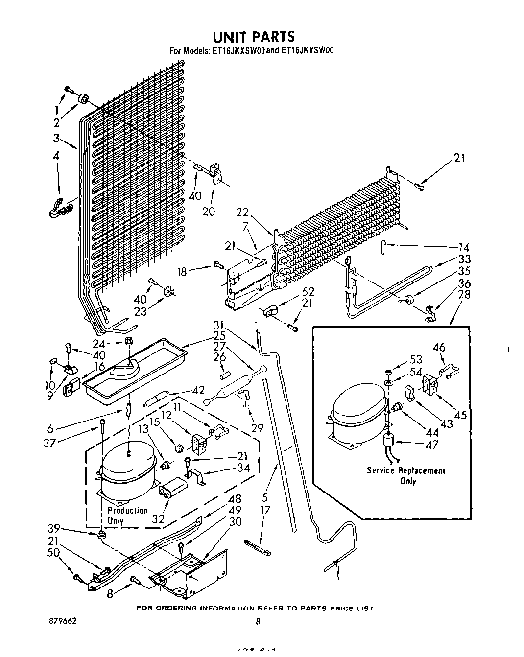
ET16JKYSW00 07 – UNIT