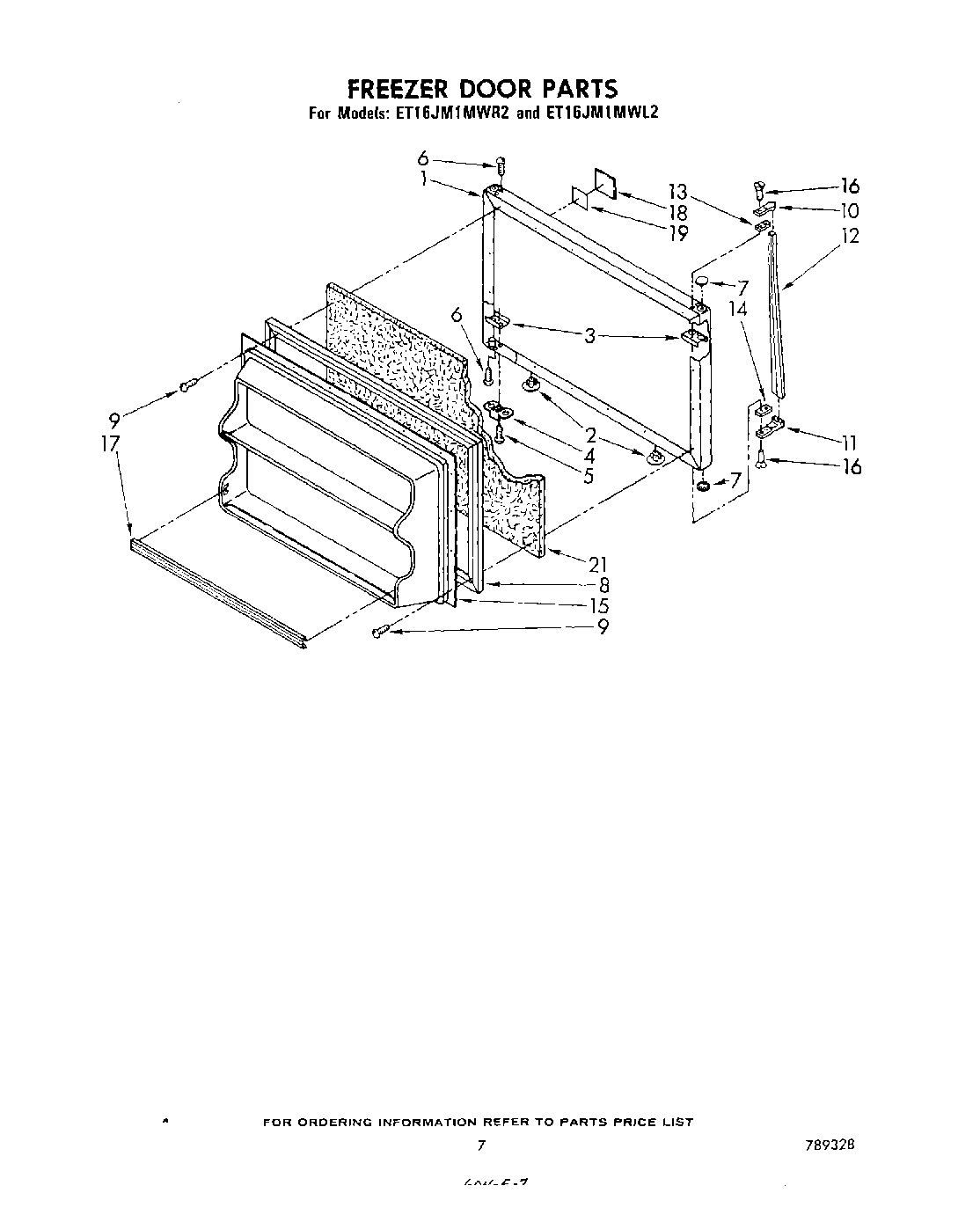
ET16JM1MWR2 06 – FREEZER DOOR