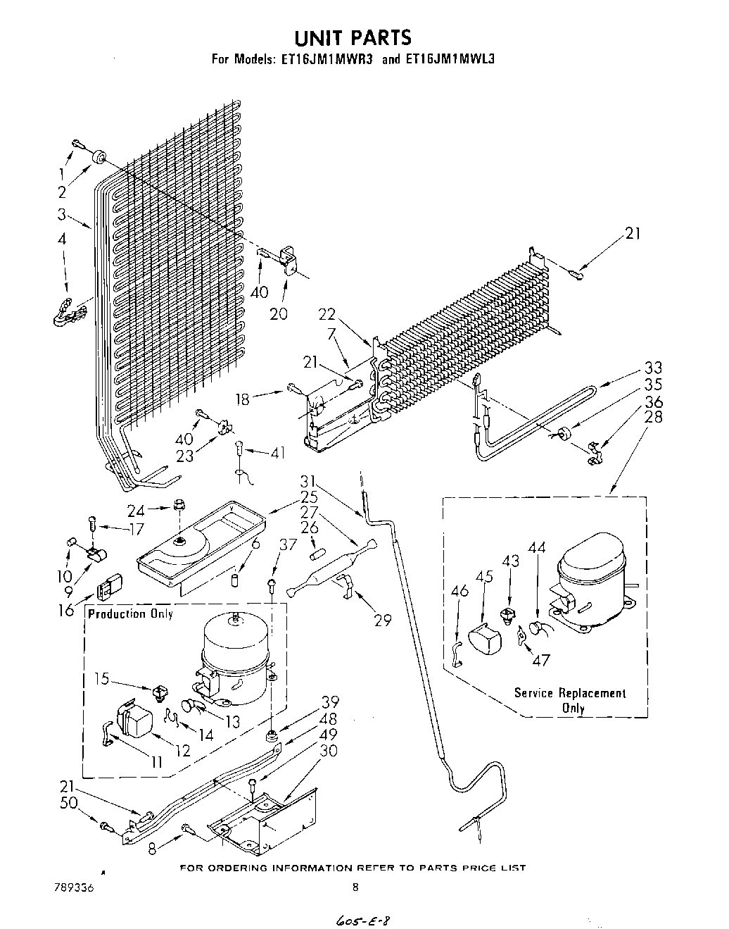
ET16JM1MWR3 07 – UNIT