ET16JM1MWR3 09 – ICEMAKER , NOT ILLUSTRATEDadmin2025-04-26T11:29:36+00:00ET16JM1MWR3 09 – ICEMAKER , NOT ILLUSTRATED
Products
| Position | Product |
|---|
| 350930 Whirlpool White Spray Paint |
| Golden Harvest |
| Toast |
| Paint, Spray (13 Oz.) (Platinum) |
| WPL 677818 |
| WPL LIT946414 |
| WPL 677821 |
| WPL 677967 |
| WPL 677971 |
| WPL 677813 |
| paint, spray 13 oz. (coffee) |
| 350956 Whirlpool Spray Assembly |
| WPL LIT789336 |
| WPL LIT1104655 |
| WPL LIT1103949 |
| Leveler (Thinner) |
| 285006 Whirlpool Spray |
| 350942 Whirlpool Spray Paint |
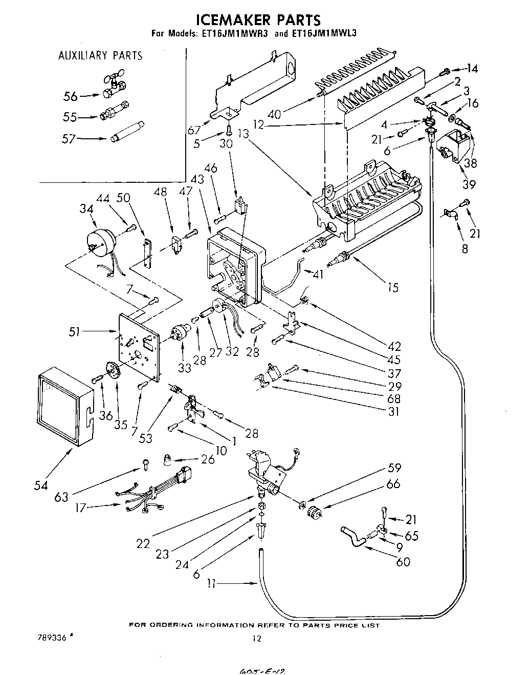
| 1 | Lever & Plate Assembly |
| 2 | WP98165 Whirlpool Screw |
| 3 | WP2196157 Whirlpool Fill Tube |
| 4 | WP488878 Whirlpool Refrigerator Tube Clamp |
| 5 | Screw, 8-16 x 3/8 |
| 6 | 4387491 Whirlpool Refrigerator Insert |
| 7 | WP488787 Whirlpool Refrigerator Screw |
| 8 | WP488366 Whirlpool Refrigerator Clamp |
| 9 | WP2158826 Whirlpool Refrigerator Dampener |
| 10 | Screw (Use W/Motor 627106) |
| 11 | W10823511 Whirlpool Refrigerator Water Tube |
| 12 | Stripper, Ice |
| 13 | Mold & Heater Assembly (Includes Illus. 15) |
| 14 | WP489128 Whirlpool Refrigerator Screw |
| 15 | Heater, Mold |
| 16 | WP1106508 Whirlpool Refrigerator Gasket |
| 17 | WPL 627750 |
| 21 | WP489069 Whirlpool Compactor Screw |
| 22 | 4318047 Whirlpool Water Valve |
| 23 | WP627018 Whirlpool Refrigerator Nut |
| 24 | ``O`` Ring Seal (4) |
| 26 | Wire Connector |
| 27 | Clamp, Thermostat |
| 28 | Screw, 8-32 x 1 |
| 30 | Switch, S.P.D.T. (2) |
| 31 | Spacer, Switch (2) |
| 32 | Thermostat |
| 33 | Cam |
| 34 | Motor |
| 35 | Gear |
| 36 | Screw |
| 37 | Screw, Shoulder |
| 38 | Tube, Water Inlet |
| 39 | Beraing & Inlet |
| 40 | Ejector |
| 41 | Arm, Shut-Off |
| 42 | Spring, Shut-Off Arm |
| 43 | Support |
| 44 | Screw, 4-40 x 1 |
| 45 | Lever, Arm |
| 46 | Screw, 4-24 x 3/4 |
| 47 | Screw |
| 48 | Switch, S.P.S.T. |
| 50 | Plate, Valve Switch |
| 51 | Plate, Mounting |
| 53 | Spring |
| 54 | Cover |
| 54 | Cover |
| 55 | Union, 1/4`` x 3/16`` |
| 56 | Valve, Shut-Off |
| 57 | Filter Kit |
| 59 | WP16123 Whirlpool Washer |
| 60 | Tube, Inlet Valve |
| 63 | Screw, Ground |
| 65 | Clamp Tube |
| 66 | Nut, Valve |
| 67 | Shield, Heat |
| 68 | Switch, S.P.D.T. |
| 68 | 72017 Whirlpool Appliance Touch-Up Paint White |
| 68 | 799344 Whirlpool Refrigerator Paint |
| 68 | Almond (Uncut) |
| 68 | Enamal, Toast (1 Qt. Uncut) |
| 68 | Golden Harvest (Uncut) |
| 68 | WP72107 Whirlpool Touchup |
| 68 | 72113 Whirlpool Touch-Up Paint |
| 68 | 72110 Whirlpool Dryer Touch-Up Paint, Golden Harvest 6 Oz |
| 68 | Platinum (Uncut) |
| 68 | WP505587 Whirlpool Refrigerator Sealer |
| 68 | TAPE, VINYL (3/4 X 108``) |
| 68 | Paint, Touch-Up 1/2 Oz. (Coffee) |
| 68 | 72032 Whirlpool Touch Up Paint Black |
| 68 | CEMENT, ALUMILASTIC (1 1/4 OZ.) |
| 68 | Enamel, Black (1 Qt. Uncut) |
| 68 | WPL 799832 |
| 68 | WPL 799833 |
| 68 | WP503695 Whirlpool Refrigerator Sealer |
| 68 | 876370 Whirlpool Refrigerator Insulation |
| 68 | WPL 72112 |
| 68 | WP542638 Whirlpool Refrigerator Grease |
| 68 | 212643 Whirlpool Refrigerator Permagum Sealer |
| 68 | Silicone (Spray) |
| 68 | Enamel, Coffee (1 Qt. Uncut) |
| 68 | 511873 Whirlpool Refrigerator Paint |
| 68 | 606755 Whirlpool Refrigerator Bag |
| 68 | 833938 Whirlpool Refrigerator Terminal |
| 68 | WPL 876029 |