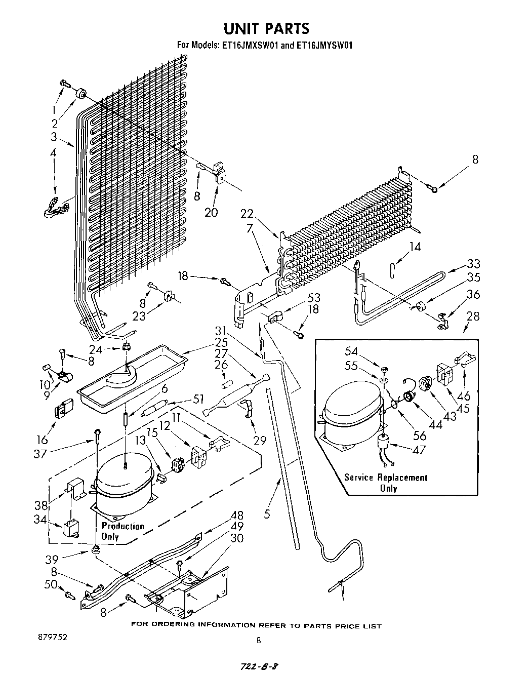
ET16JMXSW01 07 – UNIT