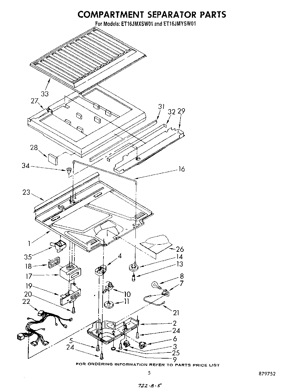
ET16JMYSM01 04 – COMPARTMENT SEPARATOR