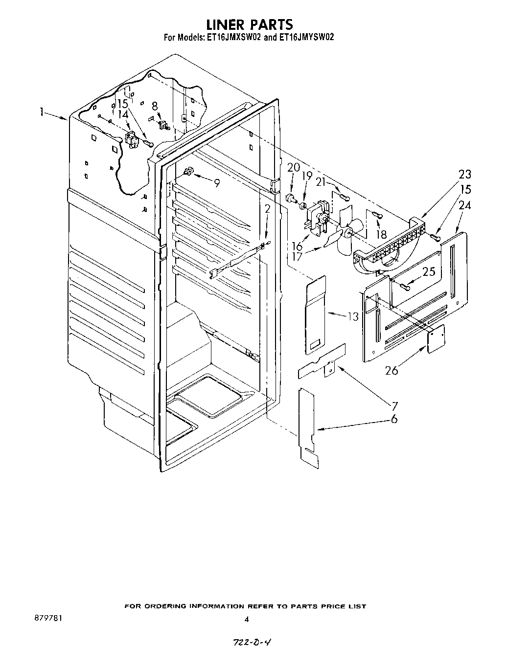
ET16JMYSM02 03 – LINER