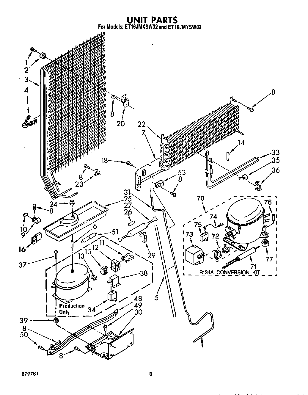
| 1 | WP488163 Whirlpool Refrigerator Screw |
| 2 | Bumper |
| 3 | Condenser & Precooler Assembly |
| 4 | Clip, Tube |
| 5 | WP2002171 Whirlpool Refrigerator Sleeve |
| 6 | Spacer |
| 7 | Heat Shield Evaporator |
| 8 | WP489069 Whirlpool Compactor Screw |
| 9 | Clamp Tube |
| 10 | Dampener |
| 11 | Strap |
| 12 | Terminal Cover |
| 13 | Overload |
| 14 | Support, Heater |
| 15 | WP2262181 Whirlpool Refrigerator Start Relay |
| 16 | WP717253 Whirlpool Dishwasher Connector |
| 20 | Bracket, Condenser |
| 22 | Evaporator |
| 23 | 4386951 Whirlpool Refrigerator Clip |
| 24 | 285002 Whirlpool Nut |
| 25 | Evaporator Tray |
| 26 | Restrictor Sleeve |
| 29 | Drier Clamp |
| 30 | Unit Mounting Plate |
| 31 | Exchanger, Heat |
| 33 | Heater, Defrost |
| 34 | WPW10662129 Whirlpool Refrigerator Run Capacitor |
| 35 | WP4387499 Whirlpool Refrigerator Bimetallic Defrost |
| 36 | Clamp |
| 38 | Cover, Capacitor |
| 39 | 876811 Whirlpool Grommet |
| 48 | Unit Mounting Rail |
| 49 | WP965173 Whirlpool Dishwasher Screw |
| 50 | Screw, 1/4-28 x 1 |
| 51 | Muffler |
| 53 | Tube, Clamp |
| 70 | Compressor (Includes Items 71, 72, 73, 74, 75, 76, & 77) (Also Order |
| 70 | 876765 Whirlpool Primary Mounting Kit Refrigerator |
| 70 | Installation Kit |
| 71 | W10843121 Whirlpool Refrigerator Tube |
| 72 | OVERLOAD |
| 73 | WP2162358 Whirlpool Refrigerator Terminal Cover |
| 74 | WP2172890 Whirlpool Refrigerator Wire |
| 75 | WP4387764 Whirlpool Run Capacitor |
| 76 | Sleeve (4) (Service Only) |
| 77 | 978030 Whirlpool Refrigerator Valve |
| 77 | VALVE, ACCESS (5/8``) |
| 77 | 876764 Whirlpool Refrigerator Primary Valve |
| 77 | VALVE, ACCESS (1/2``) |
| 77 | WP978025 Whirlpool Refrigerator Valve |
| 77 | 978026 Whirlpool Refrigerator Primary Valve |
| 77 | 978027 Whirlpool Refrigerator Primary Valve |
| 77 | WP4387558 Whirlpool Refrigerator Compressor Grommet |