ET16JMYSW01 08 – REFRIGERATOR DOORadmin2025-04-26T11:31:07+00:00ET16JMYSW01 08 – REFRIGERATOR DOOR
Products
| Position | Product |
|---|
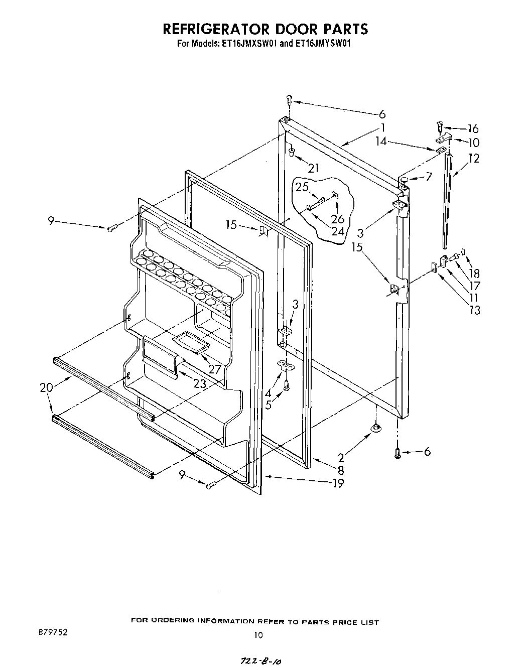
| 1 | Panel, Refrigerator Door (Platinum) (Also Order Item 21) |
| 1 | Panel, Refrigerator Door (Also Order Item 27) (Almond) |
| 1 | Panel, Refrigerator Door (Also Order Item 27) (White) |
| 1 | Panel, Refrigerator Door (Also Order Item 27) (Golden Harvest) |
| 1 | Panel, Refrigerator Door (Toast) |
| 2 | Hole Plug (2) |
| 3 | W10833053 Whirlpool Refrigerator Plate |
| 4 | Bracket, Door Stop |
| 5 | WP488921 Whirlpool Refrigerator Screw |
| 6 | Screw (Repair) |
| 6 | WP8281206 Whirlpool Refrigerator Screw |
| 7 | Hole Plug (Almond) |
| 7 | Hole Plug (Platinum) |
| 7 | Hole Plug (Toast) |
| 7 | WP2212648 Whirlpool Refrigerator Hinge Sleeve Hole Plug |
| 8 | 2188445A Whirlpool Refrigerator Door Gasket Seal |
| 9 | WP489069 Whirlpool Compactor Screw |
| 10 | 819342 Whirlpool Refrigerator Endcap Kit |
| 12 | Handle, Center |
| 12 | Handle, Center (Golden Harvest) |
| 13 | Shim, Handle End |
| 14 | Spa |
| 15 | WP939101 Whirlpool Refrigerator Plate |
| 16 | WP488920 Whirlpool Refrigerator Screw |
| 17 | WP488729 Whirlpool Refrigerator Door Screw |
| 18 | WP1101634 Whirlpool Refrigerator Cover |
| 19 | Interior Door Panel |
| 20 | Trim, Door (Top) (2) |
| 21 | Cap, Hinge Sleeve (2) |
| 23 | Compartment Door, Butter |
| 24 | Clip, Medallion |
| 26 | Medallion |