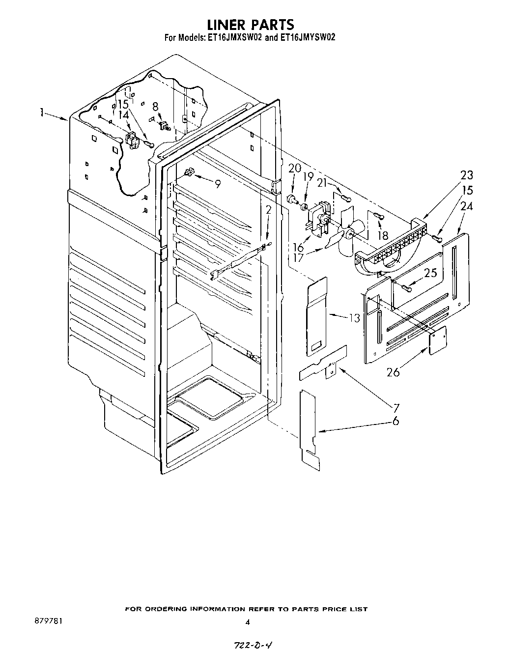
ET16JMYSW02 03 – LINER